Search K
Appearance
Appearance
文|启四
上市价预测:发行规模4.4亿,行业:医药生物-医疗器械-医疗耗材,转股价值89.96元。拟合曲线插值计算预测价格 132.022元。
正股质地不错,给予38%-40%的溢价率,预估上市合理价124-126元。
上市流通规模大概2.1亿,有一定被炒作潜力,可能冲上130元。
对标转债:阿拉转债
操作建议:如果中签,建议首日逢高卖出,如果没时间盯盘,建议设置回落条件单+止损条件单,基准价126元,回0.5%/止损条件0.5%,买三价卖出。
上市价预测:发行规模5亿,行业:电子-半导体-分立器件,转股价值94.99元。拟合曲线插值计算预测价格136.163元。
上市流通规模大概2.762亿,不算小。
给予36%-38%的溢价率,预估上市合理价129-131元。
对标转债:捷捷转债
操作建议:如果中签,建议首日逢高卖出,如果没时间盯盘,建议设置回落条件单+止损条件单,基准价131元,回0.8%/止损条件0.8%,买三价卖出。
操作图解:参考:新上市的转债,条件单如何设置?
之前多次进行了博杰转债机会分析。
今天有小伙伴打了博杰股份的电话,博杰工作人员讲,他们正在跟交易所确认,这个满足下修条件的计算时间,到底是从8月1号开始算还是之前也要算进来。
如果之前要算进来,那么他很快就要发公告,如果8月1号开始算,那么就不确定什么时候发公告。
根据这个情况,基本可以判断博杰股份下修意图板上钉钉了,要不然他们也不会费劲去和交易所确认下修时间。
之前在113元附近给vip提示了机会,目前已经涨到118.9元了,中间任意时间上车几乎都能盈利。

今天也打了友发集团的电话,询问他们是否有下修转股价的计划。
他们回复称,本来在5月份就准备发一个关于不下修转股价的公告,后经向交易所了解,不下修可以不发公告,于是他们就没发公告,意思他们大股东不想下修。
本来友发的大股东持有转债比例比较高,而且这个转债的价格现在也不贵,如果会下修,肯定会大涨,可惜了。
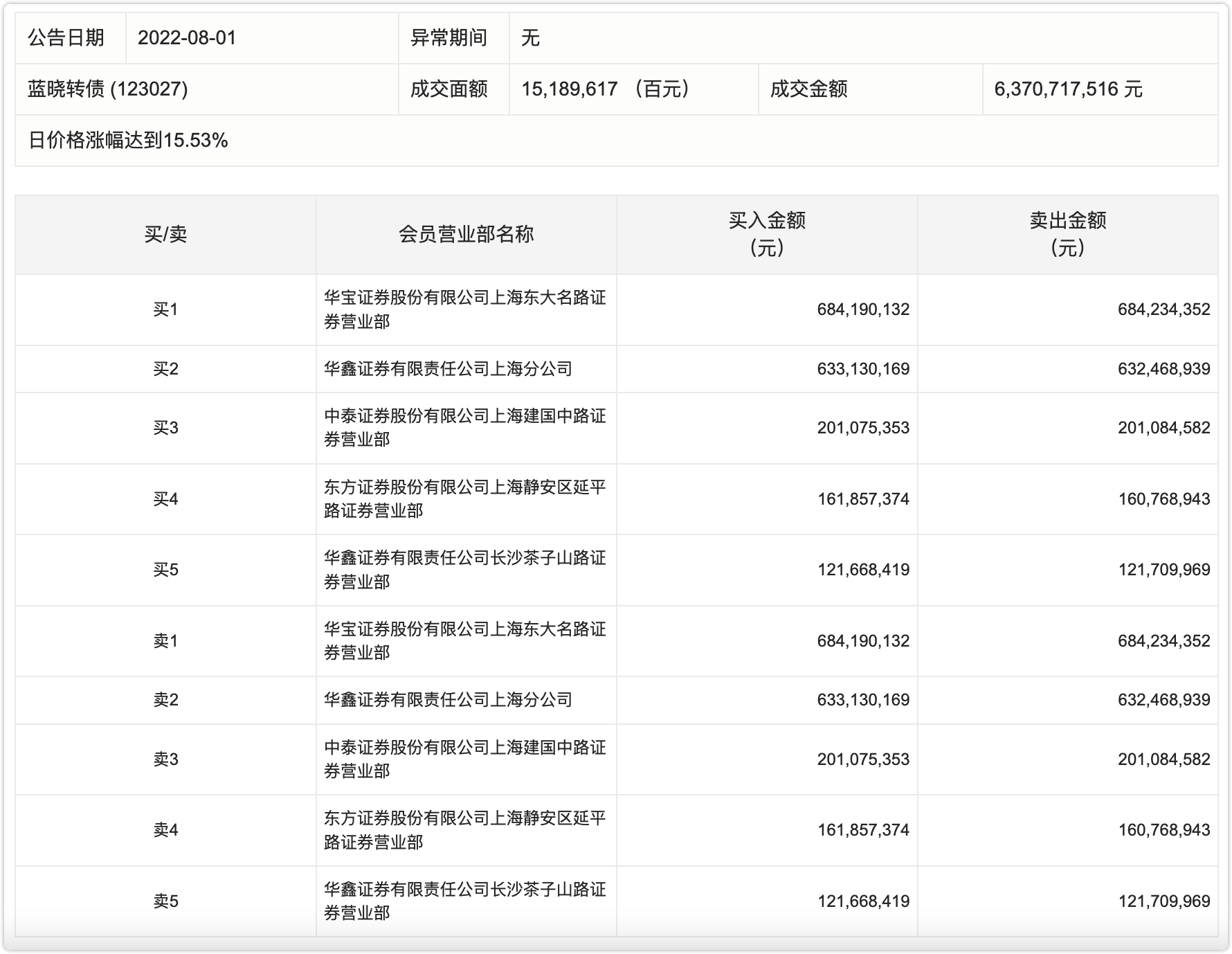
今天是新规施行的第一天,很多小伙伴好奇龙虎榜是啥样的,就是下面这样的:
1)蓝晓转债日价格涨幅达到15.53%上榜

2)永东转2日价格涨幅达到20.00%上榜

这些上榜的机构大部分是做量化交易的,也没有太多参考价值。
信息查询路径:深圳证券交易所官网/信息披露/交易信息/可转债信息/上市公司向不特定对象发行的可转债信息/匹配成交交易公开信息。
具体地址链接:http://www.szse.cn/disclosure/deal/conv/nd/mb/index.html
全文完。