Search K
Appearance
Appearance
文|启四
A股三大指数今日集体收涨,截至收盘,沪指涨0.6%,深成指涨0.51%,创业板指涨0.93%,北证50涨0.35%,沪深两市全天成交额11150亿元,连续第九个交易日突破万亿元。两市超2700家个股上涨,北向资金全天净买入64.24亿元。

可转债等权指数,今天涨幅度0.50%,中位数124.001元,位于一星级估值区,成交额607.54亿。
1、大中转债,137.405减仓。
2、正元智慧,31.10买入。
3、三羊马,39.1卖出一格。
4、岭南转债,128.726卖出一格。
5、芯海转债,127.056减仓。
6、正裕转债,129.43减仓。
7、春秋转债,128.756减仓。
8、华特转债,154卖出。
1、正元智慧,公告正元转02下周二04-18开始申购,300645,深市创业板,发行规模3.51亿元,公司主营业务是智慧校园、智慧园区和行业智慧化系统建设及增值运营服务,业绩尚可,题材不错,有人工智能、数字经济、华为鲲鹏等概念。
持股5%以上大股东持有68.72%的份额,如果全部配售的话,流通规模为2.58亿,有望走妖。
由于是深市转债,配债按张算,100股可以配2张转债,400股可以配10张,当前转股价值96.89,以程序预测上市价128.352元来算,安全垫2%+左右。由于是主线题材且流通规模小,上市容易走妖,配售价值不错。
今天在31.01抄底买入,当前盈利2.64%。

2、华特转债,今天上市的新债,运气非常好,刚好赶上半导体板块大爆发,尾盘直接冲到了上市首日最高价157.3元。
我在盘中提醒了群友,预估合理价上调到150,并设置了一个时间条件单在14:58卖出,条件单触发了156.007卖出,但是没有成交,我撤单后在154卖出了,收盘价153.617。
华特转债流通规模较大,6.46亿,下周如果半导体不继续上冲的话,华特转债可能会回落。
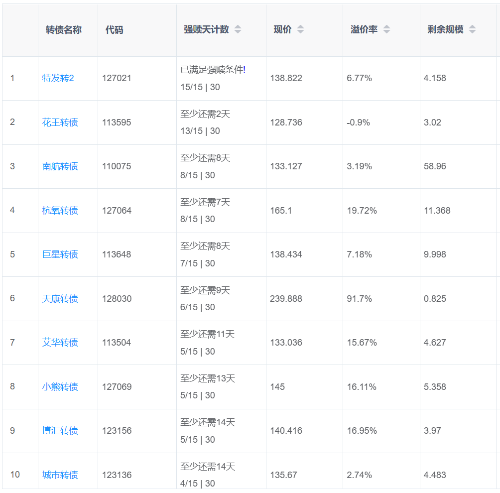
3、特发转2,今晚公告强赎,目前溢价率6.78%,剩余规模4.16亿,正股横盘情况下,下周先计提6%的跌幅。
太极转债、朗新转债、万兴转债、汉得转债、特发转2,一波AI大行情,送走了5只科技转债,下一只会是谁呢?思特?法本?奥飞?
4、转债中位数,今天又冲上了124元,再次进入一星级高估区,我对近期涨幅不错的转债进行了减仓。
关于中位数和转债估值:干货教程:如何判断转债当前估值?
半导体、光刻胶、贵金属等板块涨幅居前,暴雷债、光伏、白酒跌幅居前。
1、涨幅榜前十

2、跌幅榜前十

3、成交额榜前十

1、已公告强赎转债
特发转2,公告提前赎回。

2、即将满足强赎转债
下面这些转债,要注意强赎杀溢价风险,尤其是溢价率在5%以上的。

全文完。