Search K
Appearance
Appearance
文|启四
A股三大指数今日集体收涨,截至收盘,沪指涨1.42%,深成指涨0.47%,创业板指涨0.26%,北证50涨0.46%,沪深两市全天成交额11208亿元,连续第十个交易日突破万亿元。两市超2700家个股上涨,北向资金全天净买入19.18亿元。

可转债等权指数,今天涨幅度0.15%,中位数124.271元,位于一星级高估区,成交额578.69亿开始回暖。
1、山东路桥,8.01清仓,股债双吃。
2、三羊马,38.03买入一格。
3、券商ETF,0.922卖出一格。
4、岭南转债,127.444买入一格。
5、轮动策略,卖出金农转债,买入联泰转债。
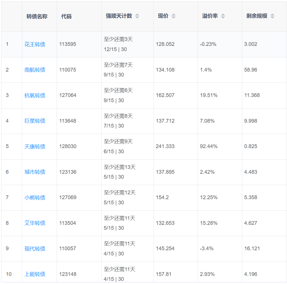
1、特发转2,今天跌幅榜老大,强赎前溢价率6.77%,今天收盘后溢价率-1.47%,再叠加正股下跌了3.57%,两项影响叠加导致转债今天跌幅高达11.01%,假设重仓了这样一只转债,那将会相当难受。毕竟从公告强赎后到退市,65%的转债都是下跌的,像万兴转债那样的强赎后能还能全身而退的还是很少。
2、上能转债,今天跌幅8.46%,近5日跌幅高达16.13%,看转股溢价率可以发现,它在开始强赎计数后,短短4个交易日,溢价率收缩了20%,所以跌幅主要是因为市场担心强赎。

上次不强赎是2023-01-10,在这一天之前也是溢价率逐步从19%收缩到2%左右,在公告不强赎之后,溢价率又开始慢慢恢复到20%。
至于这次会不会强赎,也很难判断,高价债比较烦的一点就是始终会有一只强赎之剑悬在头顶,需要时刻注意。
3、正元智慧,今天参与了配债,正股是AI+教育的龙头,且流通规模较小,正元转02有望上市后走妖,不过因为短期涨幅太大,近期可能会有回调压力。如果明天低开不超过5%,我会考虑出手。值得一提的是,上一个正元转债在不设涨跌幅的岁月里,曾有过单日170%+的涨幅。
4、无限游戏。最近看到之前关注的雪球博主元卫南,加杠杆投资东阿阿胶深套5年半近期终于解套,然后又开始加杠杆投资其他股票了。
如果把世界上所有的人类活动都看作是一次次游戏,那么游戏有两种:有限游戏,无限游戏。无限游戏是以延续为目的,在延续的过程中会产生出无数种可能性和结局,而有限游戏以取胜为目的,特点是分出胜负就结束。投资看起来像是一个有限游戏,其实本质上是一个无限游戏,因为绝大多数人输了想找回来,赢了还想赢。而对投资这两种不同的看法,也决定了一个人的投资体系和方法。
在我看来,既然是无限延续的游戏,那么第一要务就应该是避险,提高生存能力,也就是巴菲特说的保住本金,其次才是提高收益率。
5、天阳转债上市
天阳转债 123184(正股天阳科技 300872)
1)转债概况:发行规模9.75亿,行业:计算机-IT服务Ⅱ-IT服务Ⅲ,转股价值105.09元。拟合曲线插值计算预测价格137.406元,转股期前可流通规模约6.17亿。
公司主营业务是自主研发核心技术和产品,围绕客户的资产(信贷、交易银行和供应链金融)、风险管理、核心业务系统等。质地一般。
2)对标转债:奥飞转债
3)上市价预测:给予27%-29%的溢价,预估上市合理价值133-136元。预估开盘价130元。
4)操作建议:如果中签,可以首日卖出,深市回落条件单尾盘最后三分钟无效,建议手动或者挂时间条件单卖出。
1、涨幅榜前十

2、跌幅榜前十

3、成交额榜前十

1、已公告强赎转债

2、即将满足强赎转债
下面这些转债,要注意强赎杀溢价风险,尤其是溢价率在5%以上的。

3、下修情况
天23转债,未来3个月不下修。
全文完。