Search K
Appearance
Appearance
文|启四
午后中字头、大金融突发跳水。截至收盘沪指跌1.10%,深成指跌0.90%,创业板指跌1.21%,北证50跌1.99%,科创50跌2.18%。两市4200只个股下跌,两市全天成交额突破1.2万亿元,北向资金逆市净买入9.83亿元。

可转债等权指数,今天涨幅-0.71%,中位数119.521元,位于二星级估值区,成交额764.88亿。
1、海能转债,117,115.917买入。
2、券商ETF,0.955、0.977网格卖出两格,0951买回一格。
3、高测转债,119.558加仓。
4、中银转债,尾盘买入操作转股。
1、海能转债,今天上市,对比胜蓝转债,给予53%-55%的溢价,预估上市合理价值123-125元。但是今天上市后最高价118.5元,最低价115.46元,明显低于预期。
在同行业的转债中,海能转债的转股价值最高,流通规模2.64亿不算很大,到期赎回价115元,目前到期税前收益率0.58%为正,但是溢价率却明显比春23转债和胜蓝转债差了一大截。
正股近4年平均ROE为15.81%,质地不错,唯一的缺点就是一季报不好看,利润比上年同期下降-94.41%,看季报主要是新能源项目基建工程和设备投入增加所致。
综上,我认为其低估了,因此分别在117,115.917买入,短期目标120。

2、中银转债,今天罕见出现了-5.28%的折价,没忍住参与了折价转股。明天开盘正股跌幅小于5.28%就可以盈利。(注:折价就是负溢价)
这里分享一个转股小技巧,当你觉得某只转债折价较大,想参与但是又担心尾盘折价缩小的话,可以这么做:
1)先去券商app,找到交易——更多业务——转股回售,操作任意数量的转股(比如100张)
2)尾盘折价幅度如果达到自己的心理预期,就可以买入转债,折价不大就不用买转债了
3)假如你买了50张转债,那么收盘后就会自动转股50张,买了超过100张转债,就会转股100张
强调一下,折价套利风险较大,轻易不要操作,大多数情况下,第二天正股会低开。
我有几个转股原则:
3、搜特转债,今天又大跌了12.93%,目前正股*ST搜特股价已经连续11个交易日在1元以下,连续20个交易日股价低于1元将被强制退市。当前股价0.65元,需要连续9个5%涨停才能救回来,基本上是凉凉了。
教育、游戏、工业母机、传媒领跌,大金融板块仍涨幅居前。
1、涨幅榜前十

2、跌幅榜前十

3、成交额榜前十

1、已公告强赎转债

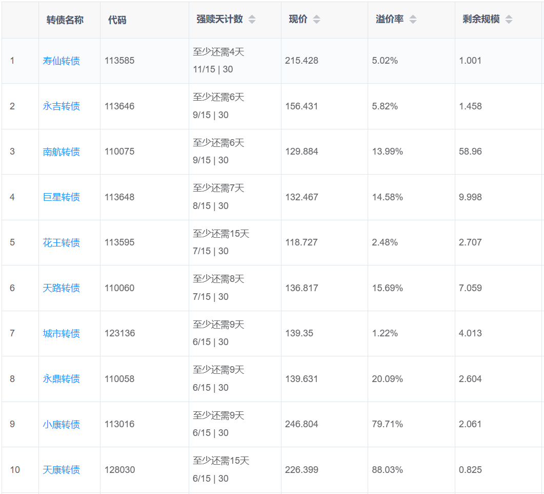
2、即将满足强赎转债
下面这些转债,要注意强赎杀溢价风险,尤其是溢价率在5%以上的。

3、下修情况
恒逸转债、恒逸转2,未来6个月不下修。
全文完。