Search K
Appearance
Appearance
文|启四
截至收盘,沪指涨0.35%,深成指涨0.12%,创业板指跌0.66%,科创50涨1.66%,北证50涨0.61%。两市超2900只个股上涨,全天成交额8205亿元。

可转债等权指数,今天涨幅0.47%,中位数119.874元,位于二星级估值区,成交额507.94亿。
1、锋龙转债,120.175卖出一格。
2、泰坦股份,13.2卖出一格。
1、近期市场行情寡淡,但是小规模次新债倒是此起彼伏,比如智尚转债、新港转债、声讯转债、亚康转债等等。
小规模次新债的好处是在市场冷淡期能获取到脉冲收益,市场冷淡时,游资喜欢炒作概念相对热门的小规模债,因为拉升成本小,而小规模债中次新债的套牢盘少,就容易受到青睐。缺点是一旦接近或者进入转股期后,因为有解禁压力在,就容易一蹶不振,比如菘盛转债、泰福转债、金沃转债、华亚转债等等。
因此,次新债可低吸不可追高。
下面是启四统计出的上市不足4个月,中签率小于0.001%,流通规模较小的次新可转债:
新港转债,0.93亿,热力服务
亚康转债,1.23亿,算力
福新转债,1.32亿,膜材料
声迅转债,1.39亿,计算机设备
恒锋转债,1.45亿,垂直应用软件
超达转债,1.46亿,汽车零部件
晓鸣转债,1.51亿,肉鸡养殖
测绘转债,2.06亿,算力
浙矿转债,2.2亿,机械设备
智尚转债,2.275亿,其他纺织
百洋转债,2.55亿,医药流通
蓝晓转02,2.56亿,合成树脂
正元转02,2.59亿,计算机设备
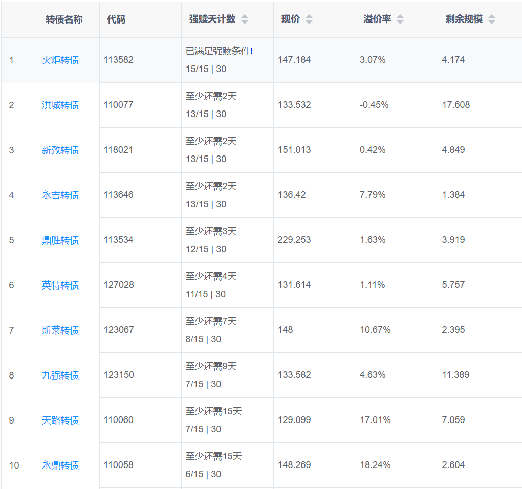
2、永吉转债,未来3个交易日中有2次正股收盘价在11.07及以上,就能满足强赎条件,强赎风险还未解除,需要注意风险。
教育、存储芯片、算力、中药、一体化压铸板块涨幅居前,POE胶膜、次新股、煤炭、光伏领跌。
1、涨幅榜前十

2、跌幅榜前十

3、成交额榜前十

1、已公告强赎转债

2、即将满足强赎转债
下面这些转债,要注意强赎杀溢价风险,尤其是溢价率在5%以上的。
火炬转债,公告不强赎。

全文完。