Search K
Appearance
Appearance
文|启四
A股三大指数大涨,截至收盘,沪指涨0.79%,深成指涨1.5%,北证50涨0.64%,创业板指涨1.22%。沪深两市全天成交额9406亿元,北向资金净买入85.34亿元。两市超3400股上涨。

可转债等权指数,今天涨幅0.96%,中位数120.933元,位于二星级估值区,成交额622.38亿。
1、芯海转债,116.622减仓。
2、利元转债,114.472,减仓一半。
3、轮动策略,清仓英联转债、万顺转债,买入永吉转债、联泰转债,做T了联得转债。
盘后,利元转债发布了公告,转股价格由218.59元/股,调整为174.87元/股,未下修到底,下修后转股价值52.88元。
参考利元转债历史溢价水平,对应价格在111-113左右,一次失败的博弈。
由于担心下修失败或者下修不到底,我今天在盘中减仓了一半。
下面是思考过程:
利元转债,昨晚发布了控股股东减持公司可转债的公告,持债比例最高的大股东、二股东、四股东,目前都没有减持干净,没有投票权。
其他博主和打电话和他们沟通了下,发现:
第一是公司的下修准备做得不太充分。问起既然大股东不能投票,那么有没有预先和其它中级股东沟通投票意向时,对方有点茫然。从昨晚的操作来看,公司有意让二股东、四股东减持获得投票权,但是又没减干净,等于白减,显然是准备不充分。
第二是他们表示和一些股东沟通过,但是当前没有把握肯定会投票通过。
之前我的预期是会下修到底,但是现在看来下修能否通过是更大的难题。
116.5建仓的,目前114.8,计划先减仓一半,这样如果下修到底,能保本,如果不能下修到底,可以加仓,不至于太被动。
至于为什么利元转债搞这么一出,有两个可能性:
1)放出下修消息,稳定价格方便大股东减持;
2)为了以后再次下修或促进强赎做准备。
从昨晚的减持公告来看,显然前者的可能性更大。
目前锂板块有止跌反弹的趋势,今天锂科、嘉元、利元正股都涨的不错,利元暂时不打算清仓。
思创转债,盘后发布了预计触发下修提示性公告,剧本正常进行中,继续等待进展。
提示两个时间点:
1)最早6月9日将满足下修条件;
2)要求清偿转债的邮件,最晚7月2日前需发出。
最好在下修前发出要求清偿转债的邮件,促进公司下修到底。清偿模板我放在评论区。
轮动策略今天吃到了万顺转债、英联转债、联得转债的肉。
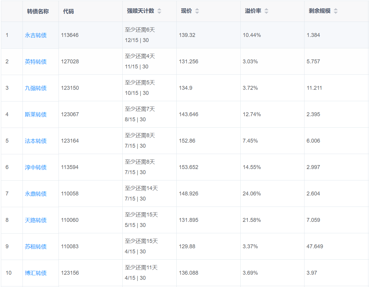
永吉转债,今天又未能满足强赎价,最快还需要6天才能满足强赎条件,因此又买了回来。
策略今天终于突破了10%,达到新高,事实来看,也经受住了实盘的考验。
持有体验还是比较满意的,大跌中会提前刹住车,反弹也比较快,小规模转债获得市场波动的超额收益逻辑还在。
上次盈利记录:吃肉12%!

板块题材上,房地产、家电板块大涨,脑机接口板块跌幅居前。
1、涨幅榜前十

2、跌幅榜前十

3、成交额榜前十

1、已公告强赎转债

2、即将满足强赎转债
下面这些转债,要注意强赎杀溢价风险,尤其是溢价率在5%以上的。

全文完。