Search K
Appearance
Appearance
文|启四
A股三大指数今日涨跌不一,截至收盘,沪指涨0.5%,深成指涨0.13%,北证50跌0.69%,创业板指跌0.28%。沪深两市全天成交额8595亿元,北向资金净买入27.62亿元。两市超3200股下跌。

可转债等权指数,今天涨幅-0.07%,中位数120.252元,位于二星级估值区,成交额638.37亿。
1、精装转债,115.86卖出一格。
2、芯海转债,115.075加仓。
凯发转债,剩余规模1.158亿,剩余年限只有0.134年,2023-07-27到期,今天转债突然脉冲,正股涨幅2.91%,转债涨幅6.94%,印象中一般临期超小规模债会有脉冲,但是持续时间很短。
目前凯发转债满打满算只剩27个工作日,想满足强赎条件比较困难,这种冲高往往是来套人的,建议远离。
今晚全筑转债,公告董事会提议下修,和正邦转债一样,同样是重大利好。
目前两者参数:
正邦转债:转债价格75.7,转股价值70.44,溢价率7.47%,剩余规模11.70亿
全筑转债:转债价格80.078,转股价值41.9,溢价率91.12%,剩余规模3.84亿
如果全筑转债下修到底,转股价值有望提升到100元附近,转债价格有望达到90元附近。
之前我预测的正邦转债如果下修到底,转债价格也有望达到90元附近,但是近两天最高价也不过78.4元。
两者同样是*ST,正邦比全筑差哪里了呢,凭什么比全筑价格还低,难道是全筑规模更小带来更高的溢价率?
如果市场不看好*ST,那么理论上全筑转债应该比正邦转债价格还低。
我认为,如果全筑明天横盘或者上涨,有望带动正邦一起上涨,如果下跌,至多会像正邦一样下跌到75元附近。
正邦转债的表现更像是一种市场滞后性,越临近下修大会日期,正邦转债的价格越可能缓慢上涨,类似思创转债近期的表现。
明天思创转债将满足下修条件,收盘后公告是否下修,近期转债价格不断上涨,已经逐渐逼近100元,如果其不下修,将承受投资人要求集体以100元回售清偿的代价。
个人认为,思创转债明天公告下修的概率极大。具体分析在05-19的文章分析过:思创转债,存在套利机会!
板块题材上,养殖业、基建、地产股涨幅居前,传媒、教育、电商股等收跌。
1、涨幅榜前十

2、跌幅榜前十

3、成交额榜前十

1、已公告强赎转债

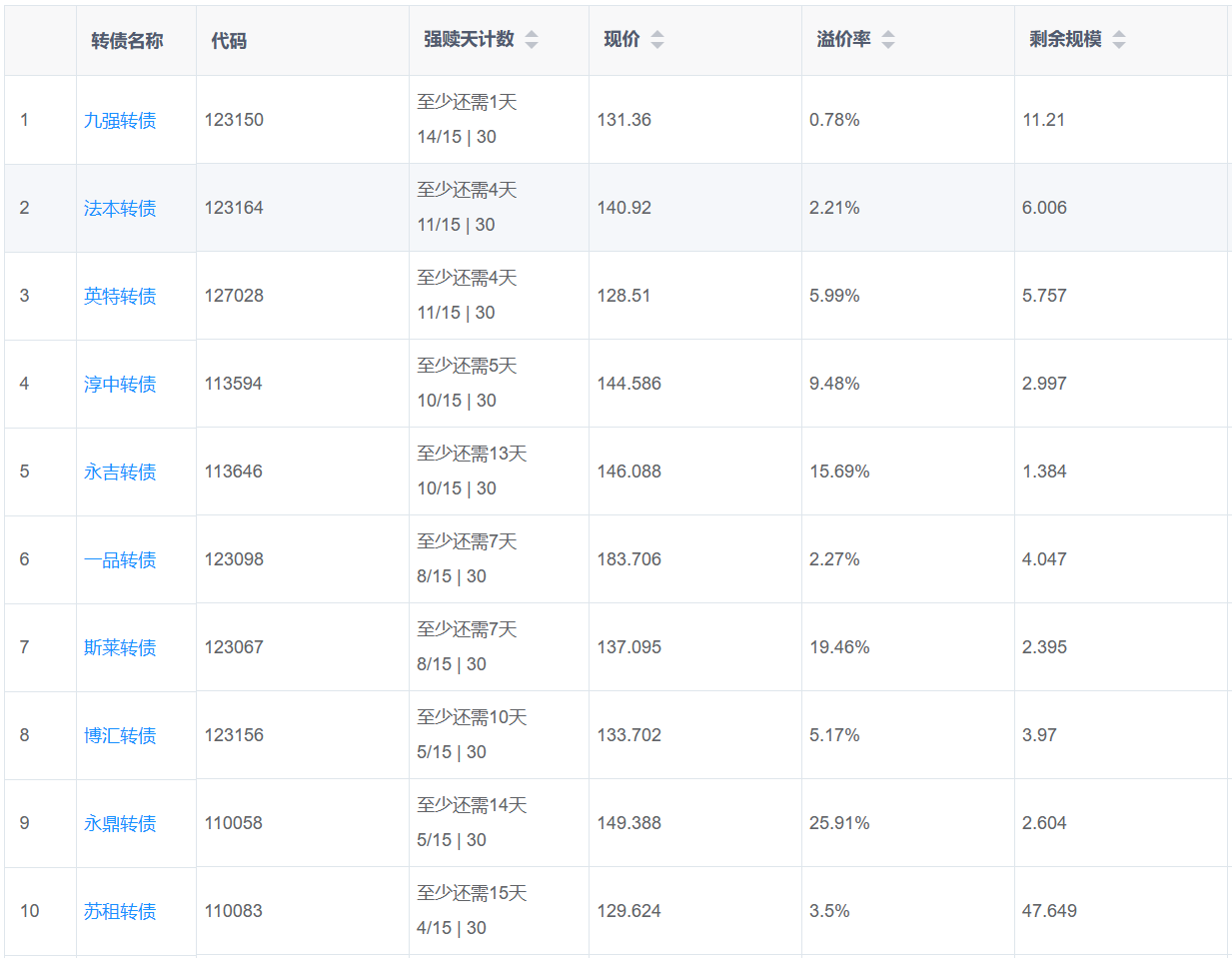
2、即将满足强赎转债
下面这些转债,要注意强赎杀溢价风险,尤其是溢价率在5%以上的。

3、下修情况
富淼转债,未来3个月不下修
全文完。