Search K
Appearance
Appearance
文|启四
截至收盘,沪指涨0.55%,深成指涨0.78%,北证50跌0.64%,创业板指涨0.81%。沪深两市全天成交额7736亿元,北向资金净买入34.89亿元。两市超3500股上涨。

可转债等权指数,今天涨幅0.38%,中位数123.251元,位于二星级估值区,成交额718.18亿。
1、精装转债,117.164买入一格。
2、轮动策略,今日未调仓。今年累计收益率+19.20%。
3、ETF轮动策略,卖出纳指ETF。
转债轮动策略,又创新高,今年累计收益达到了+19.20%。
今天继续无手动操作,轮动继续满仓运行。
ETF轮动策略,06-12建仓了纳指ETF,1.059建仓,今天1.100清仓,收益3.87%,作为一个不择时可重仓的策略,一个月利润这么多,相当满意了。
ETF主要用的是动量思维,回测时间:2017-01-01到2023-07-01,回测年化收益30.7%,最大回撤21.4%,目前跑了一个月,社群内部都挺满意的。

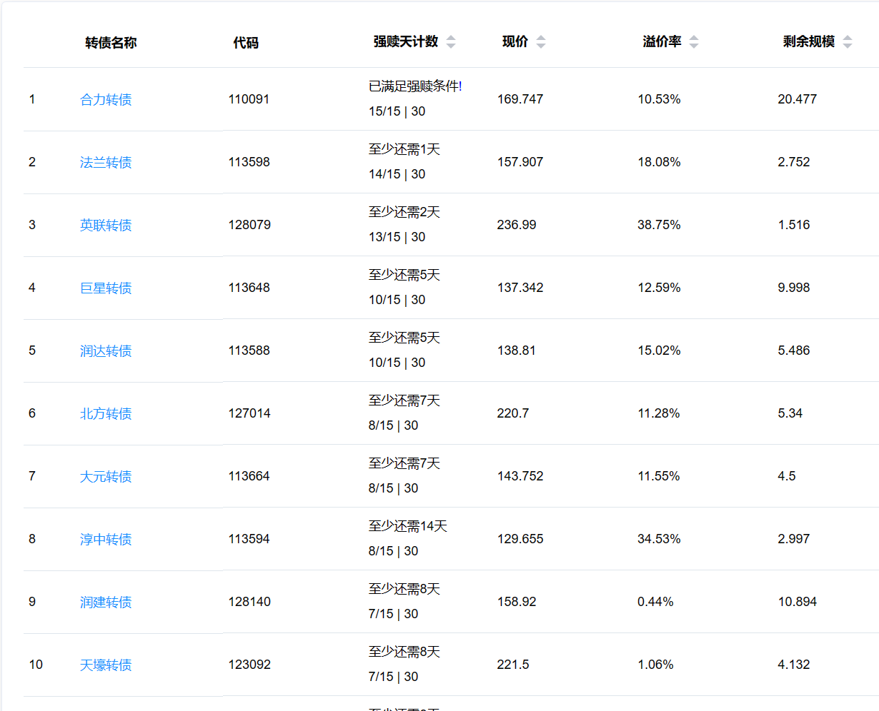
合力转债公告未来6个月不会强赎,即明年1月11日前不强赎。
目前溢价率10.53%,不强赎时间较长,溢价率可能会回升到14%左右。
明天轮到法兰转债,后天轮到英联转债满足强赎条件,这两只转债都有较高的溢价率,一旦强赎,必然是暴跌,要注意风险。
润建转债,今天正股微跌0.87%的情况下,转债暴跌8.4%,仔细一看,近5日已经跌了16.27%,当前溢价率只有0.44%,还有8天将满足强赎条件,难道是公司要强赎,提前走漏了风声?
金诚转债,类似润建转债,也是在开始强赎计数后开始下跌,近5日跌幅11.99%,当前溢价率3.73%,还有12天将满足强赎条件。因此高价债一定要时刻关注强赎进度,高价债强赎预期较大,除非是妖债,否则往往很难长时间维持高溢价。
凯发转债,昨日暴涨15%,溢价率干到8.82%,今天又暴跌7%,溢价率重新回到2.27%的正常水准,2023-07-27就要到期了,庄家能套一个是一个。末日轮拉升是游资惯用的炒作手段,目的就是让不明就里的散户跟风炒作,自己在临期之前出掉筹码解套或盈利。韭菜一茬又一茬,经久耐割,仿佛在用行动告诉我们历史就是轮回。
恒锋转债,近20日跌幅已经达到了22.99%。这是一只只有2.42亿的小规模债,又是AI债(算力+人工智能+数据要素),当前143的价格+36.5%的溢价率,性价比其实还可以,下半年AI还是有望卷土重来的。如果喜欢高波动可以考虑,这个价格对我的风险偏好来说,还是稍贵。
蓝盾转退,今天继续下跌19.09%,复牌以来已经跌了80%+,价格来到28.8,这肯定不是终点。远离即可。
板块题材上,半导体芯片、汽车产业链股全天保持强势,贵金属、稀土永磁板块午后持续拉升。
1、涨幅榜前十

2、跌幅榜前十

3、成交额榜前十

1、已公告强赎转债

2、即将满足强赎转债
下面这些转债,要注意强赎杀溢价风险,尤其是溢价率在5%以上的。

全文完。