Search K
Appearance
Appearance
文|启四
截至收盘,沪指涨0.04%,深成指跌0.14%,北证50涨0.48%,创业板指跌0.6%。沪深两市全天成交额9226亿元,北向资金净买入10.45亿元。两市超2800股下跌。

可转债等权指数,今天涨幅-0.30%,中位数122.995元,位于二星级估值区,成交额704.05亿。
1、泰坦股份,13.49买入一格。
2、精装转债,118.7卖出一格。
3、正元智慧,28.3减仓。
4、轮动策略,今日未调仓。今年累计收益率+19.56%。
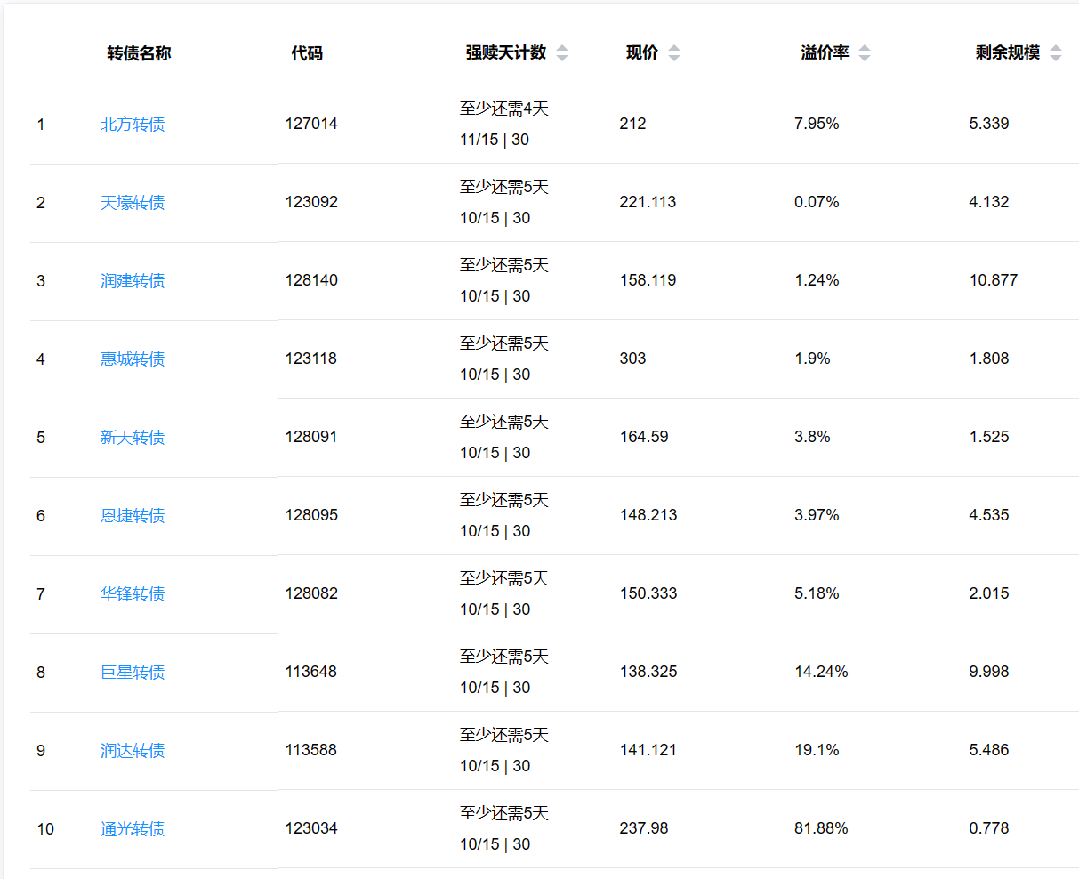
今天有几只高价债,大幅下跌,涨幅严重偏离正股。
英联转债跌20%,恩捷转债跌16.78%,新天转债跌9.07%,商络转债跌6.78%,华锋转债跌5.37%,智能转债跌4.04%。
这些转债都有一个共同点:开始强赎计数了。
近期满足强赎条件后的转债,溢价杀的又猛又快。
像恩捷转债、新天转债这样还有6天才满足强赎条件的转债(收盘前),盘中杀溢价这么厉害的,我记不起来还有哪些转债,这个现象还是挺罕见的。
我在06-19的文章数据说话:转债赎回后下跌概率70%+分享过数据:公告强赎后,72%以上的转债和正股都会下跌。
之前还看到过一个数据统计:满足强赎条件10天时卖出转债是最优选择(但是数据来源记不起来了,可以不予取信)。
作为今年的主线,AI今天又卷土重来。数据要素、AI算力概念股今天又开始活跃起来了。
利好消息有点多:
七部门联合公布《生成式人工智能服务管理暂行办法》,要求发展和安全并重。
英伟达股价创历史新高;马斯克官宣成立xAI人工智能公司
算力调度运维可视化有望开拓百亿级市场
AI中,实际应用落地到业绩变现可能还需要很长的时间,但是算力和数据要素却是不可或缺的两点,国内今年已经有80几个大模型先后公布,每个大模型都需要大量的算力和数据,无论最终能活下来多少大模型,前期的算力和数据投入是必不可少的,所以我觉得可以抓住这两个关键点反复做。
相关概念的转债有以下这这些。
算力概念:

数据要素概念:

板块题材上,数据要素、AI算力概念股全天维持涨幅,中字头股票午后一度走高。
1、涨幅榜前十

2、跌幅榜前十

3、成交额榜前十

1、已公告强赎转债

2、即将满足强赎转债
下面这些转债,要注意强赎杀溢价风险,尤其是溢价率在5%以上的。

3、下修情况
海优转债,未来三个月不下修。
科达转债,本次不下修。
全文完。