Search K
Appearance
Appearance
文|启四
截至收盘,沪指跌0.92%,深成指跌1.06%,北证50跌0.39%,创业板指跌0.99%。沪深两市全天成交额7856亿元,两市超4000只个股下跌,北向资金净买入3.47亿元。

可转债等权指数,今天涨幅-0.40%,中位数123.279元,位于二星级估值区,成交额479.40亿。
1、正元智慧,28加仓。
2、军工龙头ETF,0.683买入一格。
3、轮动策略,卖出华锋转债,买入联泰转债。今年累计收益率+19.85%
孩王转债,兴瑞转债,2023-07-24申购,如果要参与配债,最晚明天收盘前需持有股票。
神通转债,宏微转债,2023-07-25申购。如果要参与配债,最晚下周一收盘前需持有股票。
如果不打算参与配债的话,无脑申购即可。
分析一下配债性价比:
孩王转债,正股孩子王,301078,深市创业板,发行规模10.39亿,5%以上股东全额认购后转债上市流通规模5.02亿。
兴瑞转债,正股兴瑞科技,002937,深市主板,发行规模4.62亿,5%以上股东全额认购后转债上市流通规模2.13亿。
神通转债,正股神通科技,603018,沪市主板,发行规模5.77亿,5%以上股东全额认购后转债上市流通规模1.38亿。(小规模债,成妖可能性很大)
宏微转债,正股宏微科技,688711,沪市科创板,发行规模4.3亿,5%以上股东全额认购后转债上市流通规模3.13亿。
百元含权和一手党配债安全垫可以参考下图:

这几只我目前就看上了神通科技,但是最近涨幅太大,风险较大,暂时不打算参与配债。
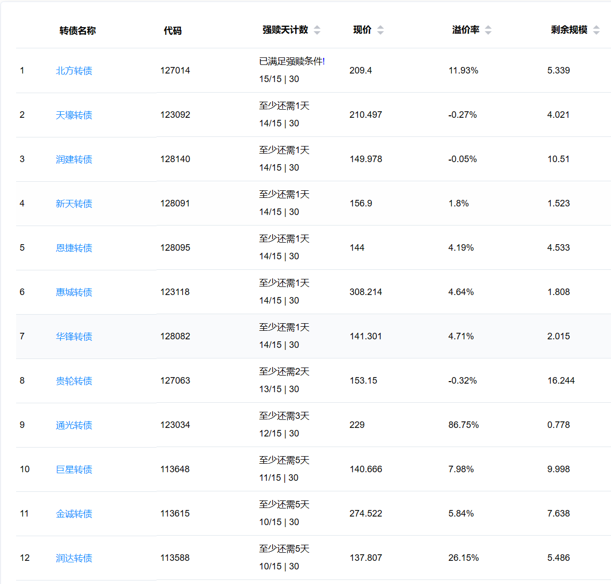
北方转债,公告未来三个月不强赎。
目前溢价率11.93%,不强赎时间较短,溢价率通常不会大幅提升。
这种转债,强赎前规避开是最好的,赌对了小赚或者不赚,赌错了大亏,赔率非常差。
六只转债明天将满足强赎条件,分别是天壕转债、润建转债、新天转债、恩捷转债、惠城转债、华锋转债。
溢价率、剩余规模情况可以看下图:

这几只转债中,恩捷转债、惠城转债、华锋转债,溢价率稍高,天壕转债、润建转债,剩余规模稍高,如果强赎的话,暴跌的可能性较大。
如果想博弈不强赎的话,只有新天转债性价比较高,但是也要注意轻仓,并且万一公告强赎,要果断止损。
板块题材上,互联网电商、酒店及餐饮、零售等板块涨幅居前,CPO、液冷服务器、存储芯片等领跌。
1、涨幅榜前十

2、跌幅榜前十

3、成交额榜前十

1、已公告强赎转债

2、即将满足强赎转债
下面这些转债,要注意强赎杀溢价风险,尤其是溢价率在5%以上的。

全文完。