Search K
Appearance
Appearance
文|启四
截至收盘,沪指跌0.11%,深成指跌0.58%,北证50跌0.38%,创业板指跌0.75%。沪深两市全天成交额6589亿元,两市个股涨跌互现,北向资金净卖出51.42亿元。

可转债等权指数,今天涨幅-0.14%,中位数122.794元,位于二星级估值区,成交额503.64亿。
1、精装转债,119.181卖出一格,117.789买入一格。
2、泰坦股份,13.17买入一格。
3、轮动策略,今日未调仓,今年累计收益率+19.70%。
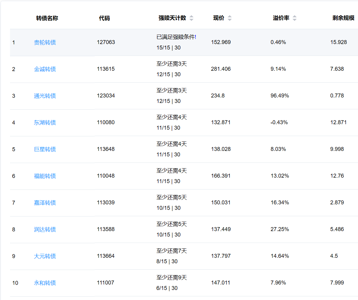
上周五满足强赎条件的几只转债,今日表现:
我在07-20的文章:强赎潮来了,小心踩坑!中提过,博弈新天转债的性价比最高,原因就是它规模最小,且溢价较低(1.8%),强赎后不会对正股形成抛压。
目前回顾看来,这种博弈是值得的,下次有这种机会应该轻仓上车。

贵轮转债,盘后公告未来三个月不强赎,当前价格152.969元,溢价率0.46%,剩余规模15.928亿。
由于不强赎周期较短,通常溢价率不会大幅上涨,预估可以回升到5%附近。
1)深圳燃气,公告即将发债,2023-07-27申购。如果要参与配债,最晚07-26收盘前需持有股票。
深圳燃气,601139,沪市主板,发行规模30亿,5%以上股东全额认购后转债上市流通规模5.77亿,百元含权13.4,每股配售1.042元面值可转债,配1手需要960股,沪市一手党最低500股可以配1手,一手党资金3890元。
转股价7.72元,对应转股价值99.23,程序预测上市价127.67元,一手党安全垫7.87%。
由于流通规模较大,保守以上市价120元预测,安全垫5.14%,配债性价比尚可。
2)深信服,公告即将发债,2023-07-27申购。如果要参与配债,最晚07-26收盘前需持有股票。
深信服,300454,深市创业板,发行规模12.14亿,5%以上股东全额认购后转债上市流通规模6.58亿,百元含权2.7,每股配售 2.9227 元可转债,配1手需要343股,深市100股可以配3张,400股可以配12张。
程序预测上市价126.212元,安全垫0.73%,配债性价比不高。
不过深信服是算力相关标的,公司质地不错。

3)阳谷华泰,公告即将发债,2023-07-27申购。如果要参与配债,最晚07-26收盘前需持有股票。
阳谷华泰,300121,深市创业板,发行规模6.5亿,5%以上股东全额认购后转债上市流通规模4.45亿,百元含权 16.42,每股配售1.6058元面值可转债,配1手需要623股,深市100股可以配2张,600股可以配10张。
程序预测上市价128.622元,安全垫4.88%。配债性价比尚可。

板块题材上,空间计算、重组蛋白、算力租赁等板块涨幅居前,转基因、磷化工、PVDF概念等领跌。
1、涨幅榜前十

2、跌幅榜前十

3、成交额榜前十

1、已公告强赎转债

2、即将满足强赎转债
下面这些转债,要注意强赎杀溢价风险,尤其是溢价率在5%以上的。
贵轮转债,未来3个月不强赎。

3、下修情况
垒知转债,不下修。
财通转债,未来六个月不下修。
全文完。