Search K
Appearance
Appearance
文|启四
截至收盘,沪指涨2.12%,深成指涨2.54%,北证50涨0.79%,创业板指涨2.14%。沪深两市全天成交额9481亿元,两市近4400家个股上涨,北向资金净买入189.84亿元。

可转债等权指数,今天涨幅0.99%,中位数123.881元,位于二星级估值区,成交额639.73亿。
1、券商ETF,0.891卖出一格。
2、精装转债,119.211卖出一格。
3、洁特转债,107.058清仓。
4、姚记科技,32.5买入。
5、乐歌转债,132减仓1/3。
6、轮动策略,清仓飞鹿转债,买入凌钢转债,今飞转债减仓接回。今年累计收益率+22.37%。
今天全线大涨,上证、深证、创业板全都起飞上涨2%+,转债等权指数也大涨了接近1%,中位数盘中来到124元。
周末政策利好,今天房地产开发、大金融、汽车整车板块全部大涨。
盘中券商ETF和精装转债网格卖出成交,减仓了乐歌转债、清仓了惰性债洁特转债。
转债轮动策略,今天吃到了今飞转债和飞鹿转债大肉。
今飞转债,正股涨停,转债今日最高价152元。盘中分批减仓,收盘前又接回来,今天盈利11.25%。
飞鹿转债,转债今日最高价151.944元,尾盘150.211清仓,今天盈利3.92%。
得益于这两只的表现,轮动策略今天收益2.23%,再创新高。
关于轮动策略,在2022-11-04的文章中实盘新的轮动策略有介绍,今年累计收益率22.32%,最大回撤4.95%。
收益回撤比高达4.5倍,并且省心省力(每天只需要固定时间操作一次,其余时间交给条件单即可),比较适合时间不充裕只想抄作业的选手。

今天买了姚记科技,002605,深市主板,发行规模5.83亿,5%以上股东全额认购后转债上市流通规模3.2亿,深市转债,100股可以配1张,700股可以配10张。
当前转股价值86.71,程序预估上市价121.619元,安全垫不高,只有不到1%。

买它主要是看中它是游戏股龙头,活跃度很不错,且近期下跌较多,距离下方支撑位31.73元不远。
上一次公告进展日是2023-05-24,如果进展顺利,近期可能会发债。
注:配债股风险较大,我可能会随时止盈止损,且不提前通知。
祥源转债 123202(正股祥源新材 300980)
1)转债概况:发行规模4.6亿,行业:基础化工-塑料-其他塑料制品,转股价值100.46元。拟合曲线插值计算预测价格130.787元,转股期前可流通规模约2.34亿。
公司主营业务是生产环保交联聚烯烃泡棉及聚氨酯泡棉(PU)、有机硅发泡材料等产品。质地一般。
2)对标转债:蓝晓转02
3)上市价预测:给予33%-35%的溢价,预估上市合理价值133.5-135.5元。考虑到流通规模较小,明天大概率130元开盘,收盘可能冲击143元,甚至157.3元。
4)操作建议:如果中签,可以考虑设置价格或者定价卖出条件单,高于133.5元,即时买一价卖出。
金田股份,公告即将发债,2023-07-28申购。如果要参与配债,最晚07-27收盘前需持有股票。
金田股份,601609,沪市主板,发行规模14.52亿,5%以上股东全额认购后转债上市流通规模7.26亿,百元含权14.52。
配债安全垫可以参考下图:

板块题材上,房地产开发、大金融、汽车整车板块涨幅居前,芬太尼、养鸡板块领跌。
1、涨幅榜前十

2、跌幅榜前十

3、成交额榜前十

1、已公告强赎转债

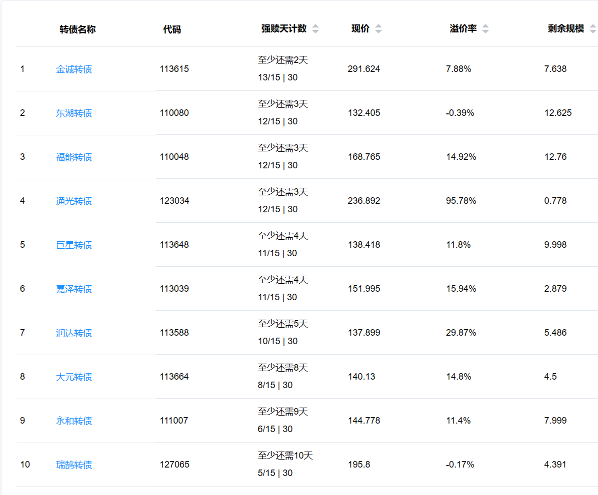
2、即将满足强赎转债
下面这些转债,要注意强赎杀溢价风险,尤其是溢价率在5%以上的。

3、下修情况
崇达转2,未来6个月不下修。
游族转债,未来6个月不下修。
正元转02,不下修。
全文完。