Search K
Appearance
Appearance
文|启四
截至收盘,沪指跌0.20%,深成指跌0.41%,北证50跌0.41%,创业板指跌0.32%。沪深两市全天成交额7800亿元,两市近3700只个股下跌,北向资金净买入37.48亿元。

可转债等权指数,今天涨幅-0.24%,中位数123.720元,位于二星级估值区,成交额519.32亿。
1、高测转债,127.8减仓。
2、吉视转债,110.018清仓。
3、正元智慧,27.35加仓。
4、凌钢转债,129.5减仓。
5、轮动策略,清仓华锋转债,买入联得转债。今年累计收益率+22.09%。
1、吉视转债今天清仓了,它在07-18提议下修,08-02将召开股东大会。
它目前的每股净资产为2.03元,由于在招募书中写明了下修时转股价不能低于每股净资产,所以本次下修转股价最低为2.03元。
当前股价为1.97元,对应转股价值=100/2.03*1.97=97元,目前吉视转债还有0.419年到期,到期赎回价106元,参考其他临期债,当前价格110元比较合理。
越临近到期,期权价值越低,越对我不利,考虑到它的剩余规模还有11.349亿,不像迪龙转债、金农转债、凯发转债等小规模债容易拉升,因此予以清仓。
2、上声电子,2023-08-01即将上市,发行规模5.2亿,前4大股东配售了75%的可转债,流通规模只有1.3亿,目前这个环境下上市冲击200元很有希望。
3、新能源汽车板块今天大涨,受大众入股小鹏汽车增资约7亿美元;《国家车联网产业标准体系建设指南(智能网联汽车)》印发等利好消息刺激,瑞鹄转债、伯特转债、明新转债、精锻转债等盘中大涨。
配债股中的小规模金钟股份、博俊科技、宏昌科技等汽车板块,今天也大涨,未来可以持续关注。
小规模配债股(流通规模)的名单可以参考昨晚的文章:未来的妖债,会在这15只中诞生!
4、钢铁板块近期异动拉升,重庆钢铁两天两板,山东钢铁、酒钢宏兴、安阳钢铁、凌钢股份、方大特钢等跟涨。
凌钢股份昨日涨停,今日继续拉升,对应的凌钢转债表现也不错,今天盘中129.5继续进行了减仓。作为一只老三低转债,也算是铁树开花了。
钢铁资产属于明显的周期资产,往往受到需求周期和供给周期的明显影响。当前钢铁板块出现多个底部特征。从估值来看,根据中信钢铁行业指数,当前行业PB为0.96,处在2020年7月以来的最低值,上两轮最低点分别为0.90(2020年出现)、1.29(2016年出现)。目前钢铁行业已经明显处在估值底部区间。
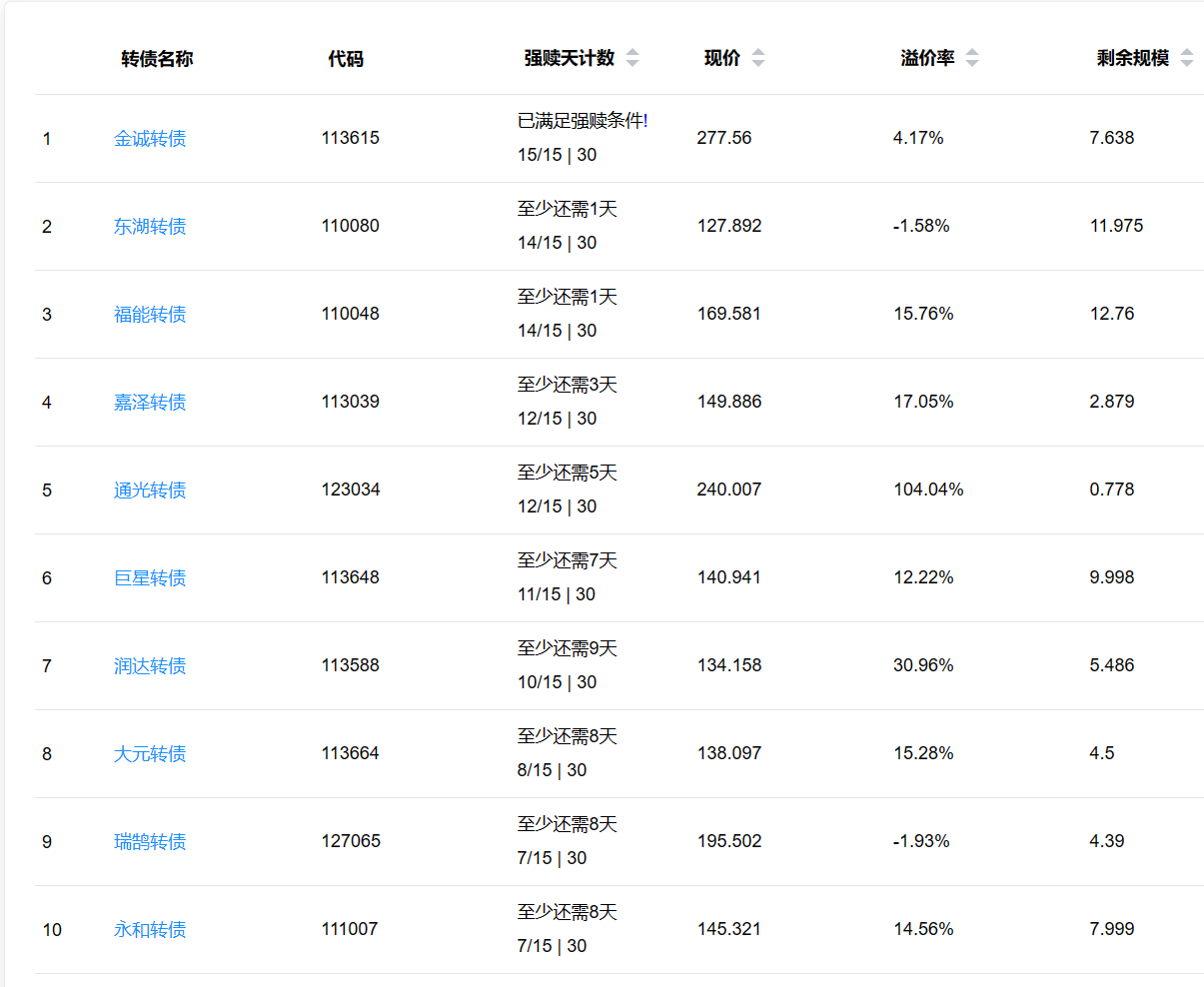
5、金诚转债,今晚公告未来6个月暂不强赎,目前价格277.56元,溢价率4.17%,不强赎时间较长,溢价率有望回到10%以上。
板块题材上,汽车零部件、钢铁、中船系涨幅居前,互联网电商、先进封装等跌幅居前。
1、涨幅榜前十

2、跌幅榜前十

3、成交额榜前十

1、已公告强赎转债

2、即将满足强赎转债
下面这些转债,要注意强赎杀溢价风险,尤其是溢价率在5%以上的。

3、下修情况
红相转债,未来1个月不下修。
闻泰转债,未来3个月不下修。
西子转债,未来3个月不下修。
江山转债,未来6个月不下修。
全文完。