Search K
Appearance
Appearance
文|启四
截至收盘,沪指跌2.01%,深成指跌2.18%,北证50跌0.65%,创业板指跌2.33%。沪深两市成交额7635亿元。个股上跌多涨少,两市超4600只个股下跌,北向资金净卖出超百亿元。

可转债等权指数,今天涨幅-0.34%,中位数123.008元,位于二星级估值区,成交额543.45亿。
1、姚记科技,34.55减仓,35.4减仓,34接回。
2、蓝天燃气,9.83买入,9.68加仓。
3、券商etf,0.995买入一格。
4、轮动策略,清仓三力转债,买入联得转债。今年累计收益率+19.78%。
蓝天转债,下周二2023-08-15申购。如果要参与配债,最晚下周一收盘前需持有股票。
蓝天燃气,605368,沪市主板,发行规模8.7亿,5%以上股东全额认购后转债上市流通规模3.27亿,百元含权12.96,配售10张需要797股,沪市转债有精确算法,最低只需要400股就可以配到1手(可能翻车,求稳500股)。
当前转股价值95.56元,程序预估上市价126.786元,一手党安全垫6.92%,多手党安全垫3.46%+。
正股主营业务是河南省内的管道天然气业务、城市燃气等业务。现金奶牛,分红慷慨,质地不错。
原本近期大涨不打算参与配债,但是恰逢今日大跌,股价回踩60日均线,个人觉得风险可控,于是买入。
今天三大指数均跌超2%,群里利空消息飞满天。
1)降股数
沪深交易所联合行动,研究允许主板股票、基金等证券申报数量可以以1股为单位递增。
在降费或降税之间,上面选择了降股数。
以前校门口的小卖部卖烟,也是可以拆开来一根一根卖,不是老板良心,是穷学生没钱,老板恨不得把穷学生那点钱吃干抹净。

2)中植系暴雷
这个已经传出来很久了,涉及2300亿资金和15万的高净值投资人被停止兑付(大概就相当于存在余额宝的钱取不出来的意思)。单个客户最大投资50多亿,平均每个客户损失达到千万级别,网友评论:中植系不割穷人。
这次中植系理财产品暴雷,一个重要的原因便是其有大量的底层资产投向了房地产。据消息说,中植系的资金池中有9%—12%的产品与房地产相关。
3)拜登政令
据说:外资买方反馈,近日各大外资机构已经陆续接到总部要求,开始执行拜登政府行政命令,出清中国半导体、微电子、量子通信、人工智能类相关证券标的,部分机构要求清仓全部中国股票,可能会引发市场抛售潮。
但是这个消息有外资的群友辟谣是假的。
在股市中,今天发生的事情,过去曾经发生,以后还会再发生。每天都有无尽的利好利空消息,我们能做的就是研究好持仓标的的价值,跟踪好市场估值,跟随市场大势操作,而不是让内心的恐惧来操作。
板块题材上,减肥药、医药商业、CRO概念涨幅居前,证券、燃气板块等跌幅居前。
1、涨幅榜前十

2、跌幅榜前十

3、成交额榜前十

1、已公告强赎转债

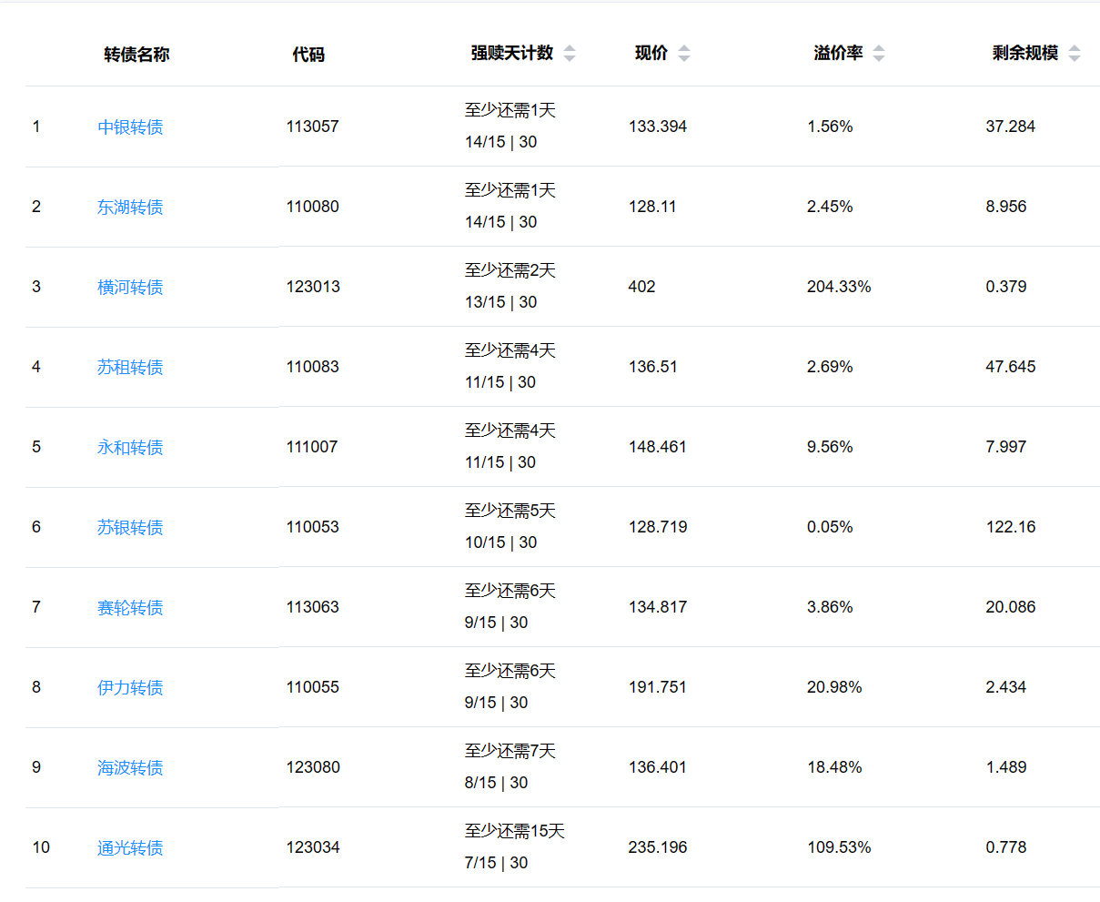
2、即将满足强赎转债
下面这些转债,要注意强赎杀溢价风险,尤其是溢价率在5%以上的。

3、下修情况
广联转债,未来6个月不下修。
全文完。