Search K
Appearance
Appearance
文|启四
截至收盘,沪指涨0.04%,深成指涨0.26%,北证50涨0.45%,创业板指跌0.05%。沪深两市全天成交额9843亿元。两市超3100只个股上涨,北向资金净卖出24.63亿元。

可转债等权指数,今天涨幅0.14%,中位数121.999元,位于二星级估值区,成交额553.59亿。
1、泰坦股份,13.52,13.83卖出两格。
2、精装转债,115.896卖出一格。
3、姚记科技,31.43减仓。
4、三羊马,35.85卖出一格。
5、正元智慧,27.41减仓。
6、迪贝转债,129减仓1/2。
7、轮动策略,今日未调仓。今年累计收益率+20.96%。
昨晚看到一个套利机会,紧急在社群内发布了。
上市公司经纬纺机(SZ:000666)昨晚发布的一则公告:《关于撤回公司股票在深圳证券交易所交易的方案》。
公司拟以股东大会决议方式,主动在深交所退市,转到中小板交易。
背后的原因众说纷纭,大概率是因为中融信托暴雷引起的,央企为体现担当,保护中小股东利益,遂决定这么操作。
套利机会来源于退市公告中的【异议股东及其他股东保护机制】,公司给异议股东提供了9.24元的现金选择权。
大白话说就是,如果你持有经纬纺机的股票,那么在9月13日股权登记日之后,无论持有股票成本是多少,都可以以9.24元/股的价格卖回给公司。
还有两个风险点,在经过分析后启四认为可以排除。
昨天经纬纺机收盘价是8.05元,距离9.24元有14.78%的涨幅空间,因此晚上紧急夜市委托涨停价8.86,提前挂单抢筹,可惜今天排队了一天也未能成交(机构有专用资金通道,相比散户有抢筹优势)。
目前股价8.86元,距离9.24元,还有4.28%的利润空间。
当前我的预期是9.06以下还可以考虑买入,因为这时候还有2个点的收益,再高的话机会成本就比较大了。
我在08-25的文章:抄底怎么选择?中强调了:
根据以往经验,小规模转债未来反弹往往会更快。
另外,很多配债股近期跌幅也很大,很多都来到了30日、60日均线支撑位,也有很多机会可以挖掘。
如今过了5天,再来看,这些转债反弹力度确实不错:

比起小规模转债1.8%-5%的涨幅,小规模配债股的涨幅更夸张。
比如以下20只小规模配债股,近5日涨幅有11只在6%以上,最低涨幅2.87%,考虑到反弹了3天,如果只算近3日涨幅,那么反弹力度会更夸张,比如盟升电子近2日涨幅高达25%+。

所以下次如果碰到大跌,大家应该知道怎么做了吧。
最近几天大涨,逐渐减少了手中仓位,未来等配债股回落,可以再择优抄底。
今天的跌幅榜前9名中,8只是双高债,另外一只弘亚转债年报非标是问题债。
而8只双高债中有5只是次新债。
08-20的文章中,我提示了:6只风险较高的次新债。
08-25的文章中,我提示了:声迅转债、万顺转债、福蓉转债未来都有断头杀风险,如今已然应验。
真心劝我的读者们,远离双高债,赚能让自己睡得着觉的钱,别被击鼓传花的游戏所诱惑。
什么是双高债?我的标准是:价格超过150元+溢价率超过50%,即为双高债。
板块题材上,科创次新股、半导体及元件、数据要素等板块涨幅居前,银行、证券等大金融板块飘绿。
1、涨幅榜前十

2、跌幅榜前十

3、成交额榜前十

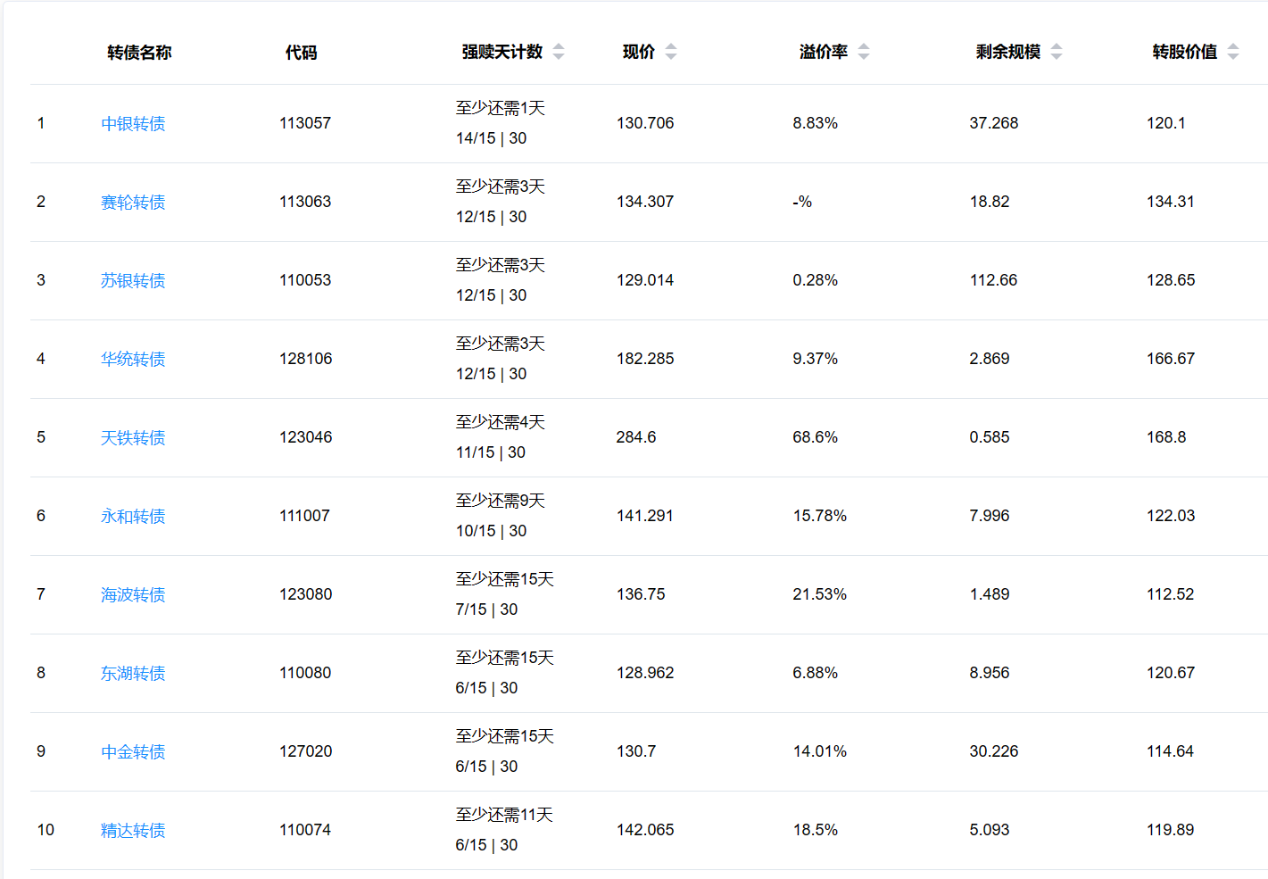
1、即将满足强赎转债
下面这些转债,要注意强赎杀溢价风险,尤其是溢价率在5%以上的。

2、下修情况
精装转债,未来2个月不下修。
三诺转债,未来6个月不下修。
全文完。