Search K
Appearance
Appearance
文|启四
截至收盘,沪指涨0.43%,深成指涨0.44%,北证50涨2.86%,创业板指跌0.11%。沪深两市全天成交额7454亿元。两市个股涨跌参半。

可转债等权指数,今天涨幅0.18%,中位数122.574元,位于二星级估值区,成交额466.68亿。
1、姚记科技,30.48加仓。
2、泰坦股份,13.52买入一格。
3、轮动策略,今日未调仓。今年累计收益率+21.10%。
平淡的行情,今天又是次新债的天下,涨跌幅榜中各有5个次新债。
涨幅榜的宏昌转债、兴瑞转债、百洋转债都涨成了双高债,风险巨大。
跌幅榜的纽泰转债、聚隆转债、声迅转债、新港转债、超达转债还有大幅的下跌空间,冠中转债略微高估。
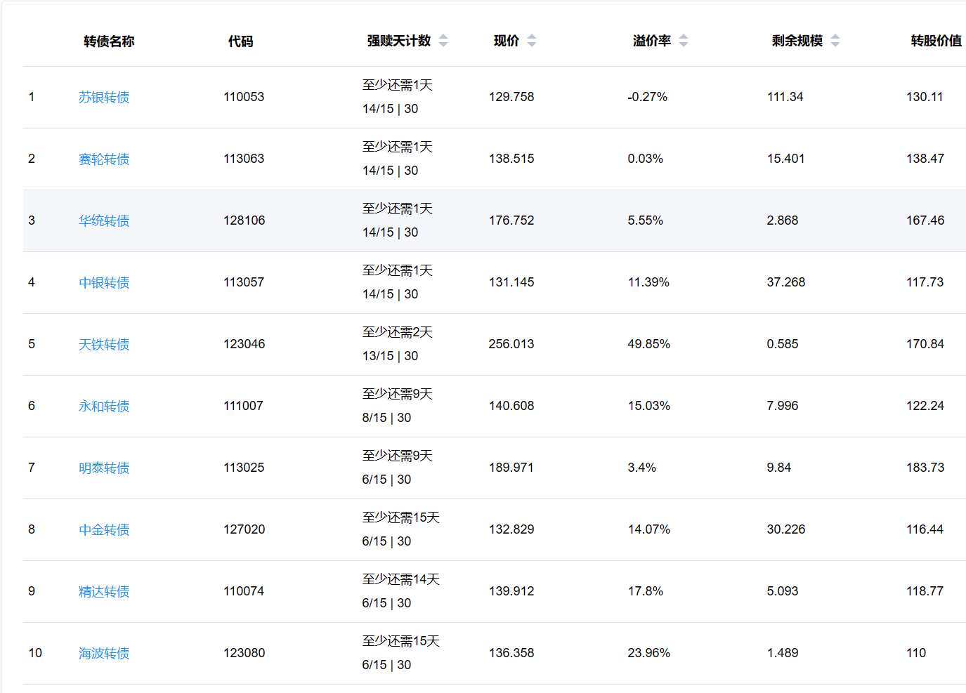
值得一提的是,天铁转债还有2天将满足强赎条件,当前溢价率高达49.85%,强赎风险巨大。
天铁转债历史有过6次不强赎记录,剩余年限2.548年,看起来似乎强赎意愿不大,但是今年已经有了两次双高债强赎案例。
小康转债顶着49.24%的高溢价率,英联转债顶着34.94%的高溢价率强赎之前,有投资者也认为这些转债剩余规模小,上市公司不会为了这点钱得罪投资者,因此赌不会强赎,最终付出惨痛的亏损代价。
双高债(高溢价高价格)面临强赎时,对投资者来说风险极大,真正应该关心的是自己能不能承受得了强赎带来的巨亏,而不是猜测赌博公司是否会强赎。
新23转债,下周二2023-09-05上市,上市前我会发出预测分析。
周末计划回测一下小盘低溢价策略表现,如果表现不错,可能会考虑取代每周末发布的偏离策略名单。
某央企券商头部AA级给出的超低开户费率福利,这个费率懂的自然懂,我就不多说了,基本上市面最低。

活动截止下周五,有需要可以扫码进群开。

板块题材上,煤炭、零售、电解铝等顺周期概念股全天领涨,核污染防治、科创次新股跌幅居前。
1、涨幅榜前十

2、跌幅榜前十

3、成交额榜前十

1、即将满足强赎转债
下面这些转债,要注意强赎杀溢价风险,尤其是溢价率在5%以上的。

2、下修情况
海顺转债,未来2个月不下修。
佳力转债,立昂转债,未来3个月不下修。
金23转债,未来6个月不下修。
全文完。