Search K
Appearance
Appearance
文|启四
截至收盘,沪指跌0.52%,深成指跌0.53%,北证50跌0.82%,创业板指跌0.77%。沪深两市成交额5733亿元创年内新低。两市超3900只个股下跌,北向资金净卖出35.42亿元。

可转债等权指数,今天涨幅-0.27%,中位数119.881元,位于二星级估值区,成交额295.08亿。
1、轮动策略,今日未调仓。今年累计收益率+17.89%。
**1、**2023-09-20,今日转债成交额跌破300亿。2021-04-16以来的新低,当时247.07亿,值得沉痛纪念的一天。
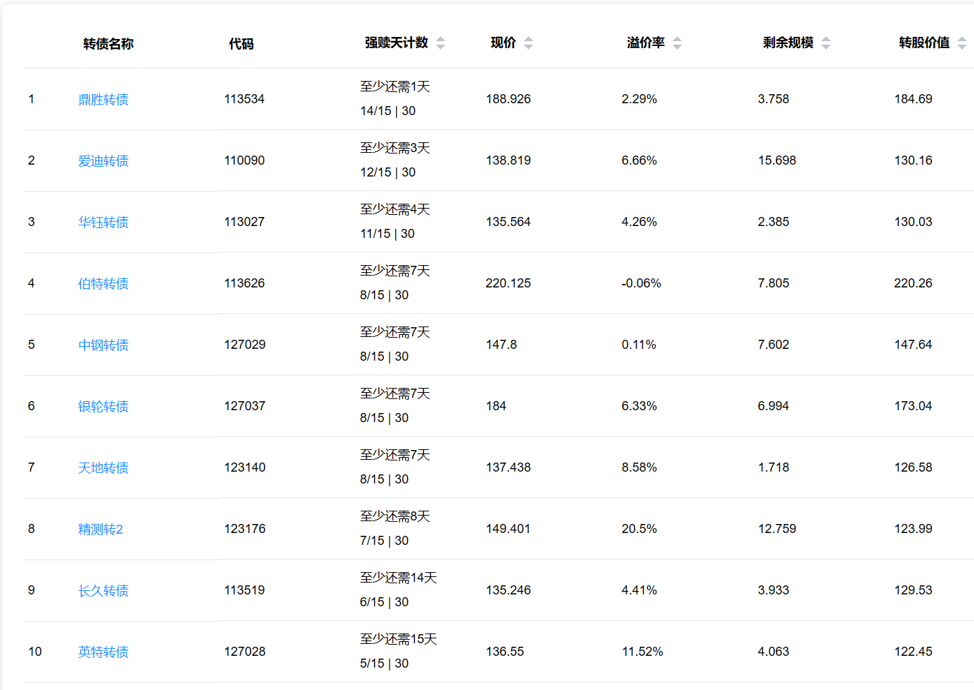
2、华钰转债,今日跌幅6.78%,原因是还有4天就要满足强赎条件了,市场提前杀溢价,当前价格:135.564元,溢价率:4.26%,剩余规模2.384亿,剩余年限1.734年。
这是一只历史非常活跃的转债,有过一周内从144元拉升到187元的案例,历史最低价:90.200 (2021-04-30) 最高价:196.530 (2021-08-23),正股是有色金属-工业金属-铅锌行业。
查了一下,这只转债已经有过13次不强赎的经历,公司比较调皮,大部分时间都是公告本次或者三个月内不强赎,总是很快又重新开始强赎计数,公司也许是想给自己留好随时强赎的机会,但这样也导致溢价率在相当长一段时间都被压制在20%以下,临近强赎开始杀溢价——公告不强赎溢价上涨,周而复始。
考虑到华钰转债当前的剩余规模和价格都不算高,如果这次溢价率能回到2%以内,启四认为值得博弈一下不强赎。
**3、**09-14的这篇文章:当前比较看好的16只转债,不少已经来到了买点,如果想换仓或者建仓的话,可以参考。
4、百洋转债,近五日跌幅34.96%,近两日跌幅64.31%,两天时间就从207元跌到133元,一夜回到解放前,参与炒作的散户几乎无一幸免,那些200+以上买入的投资者,可能近两三年都无法回本。
再看看今天涨幅榜第一的天康转债,剩余年限仅0.255年,溢价率高达136%,此时拉升明显是和百洋转债同样的目的——炒作拉升让韭菜高位接盘,可以预见近期也将会遭遇和百洋转债同样的断头杀结局。
板块题材上,脑机接口、减肥药、ST板块涨幅居前;光刻机、酒店及旅游板块下挫。
1、涨幅榜前十

2、跌幅榜前十

3、成交额榜前十

1、已公告强赎转债

2、即将满足强赎转债
下面这些转债,要注意强赎杀溢价风险,尤其是溢价率在5%以上的。

3、下修情况
华特转债,本次不下修。
大叶转债,未来4个月不下修。
全文完。