Search K
Appearance
Appearance
文|启四
截至收盘,沪指跌0.77%,深成指跌0.90%,北证50跌0.46%,创业板指跌0.99%。沪深两市成交额5790亿元。两市超4000只个股下跌,北向资金净卖出43.3亿元。

可转债等权指数,今天涨幅-0.25%,中位数119.483元,位于二星级估值区,成交额304.27亿。
1、锋龙转债,123.222买入一格.
2、春秋转债,126、125.3减仓。
3、轮动策略,今日未调仓。今年累计收益率+17.77%。
1、经纬纺机,参与套利的小伙伴应该都收到了短信或者公告,总结一下新公告,简单说就是:9月22日公司会自动登记大家的股权,然后等待公司另外通知申报日,届时在申报日进行申报即可。
目前申报日还没出来,在新公告通知前,什么都不用操作——明天9月22日不用操作。
2、芯能科技,603105,公告证监会核准/同意注册,行业 光伏发电,质地一般。
沪市主板,发行规模8.8亿,5%以上股东全额认购后转债上市流通规模5.152亿,百元含权13.5元。
配售10张需要569股,沪市一手党最低只需要300股可以配到1手,求稳400股。
以当前转股价值预测上市价在123元左右,安全垫4.4%-5.87%。
我暂不打算参与配债。
3、研报分享,一份安信证券关于十年十倍股的研报:《做时间的朋友,与伟大企业共同成长》
研报主要讲了这些内容:
其中以下这些经过分析得出的结论和启示,个人认为很值得学习:

4、薅羊毛,去年做了一个赚零花钱的小会员社群(主要薅羊毛),目前已经稳定跑了1年了,我自己也在做。积少成多,这些羊毛福利一年下来比打新债赚的还多。
给大家同步一下目前数据(截止9月21日),累计发放奖金:138811.11元,最高领到奖金:5600元,其中领到500元以上的有81人。

同样一个任务,有人觉得这笔收益少的可怜,但也有人靠着小任务,带着家人一起做,实现了每月一次商场家庭聚餐自由~
如果已经知道咋回事的,建议直接长按下方二维码先抢名额,以防又没了:
本次限制人数,50名,满人就关闭。

下面我再说一下羊毛来自哪里,其实就是通过不断开户+入金去薅quan商的羊毛,一家薅100-300块。因为quan商大多有开户量的指标需要完成,后面我就不细说了,懂的都懂。
虽然是小钱,但胜在没风险,不需要担心股市行情动荡,门槛也不高,操作也容易,而且不限制3户,每人最多可以开到20户。
小会员费用方面,19.9元/年;
为了让俱乐部物超所值,我还准备了一点其他福利,包括:
1、打新日历,让你对A股新股有了解;
2、资产配置报告,主要是帮你分析下科学性;
3、精品课程,这个是一些小白课程,给大家入门用的。
另外有个重点,加入是有要求的:
1、因为要薅羊毛需要开户等,确保自己有不少于1万的资金;
2、加入后不满意三天可退,但三天后就不可以啦,请谅解;
3、进群后如果捣乱、发广告、传播负能量、政治等将会被踢出去,且不退费。
如果以上你都觉得没问题,请抓紧时间扫码下,付款后添加助理微信,稍后会统一拉你进群。

板块题材上,华为产业链、6G概念、港口航运等板块涨幅居前;减肥药、一体化压铸、酒店及旅游板块下挫。
1、涨幅榜前十

2、跌幅榜前十

3、成交额榜前十

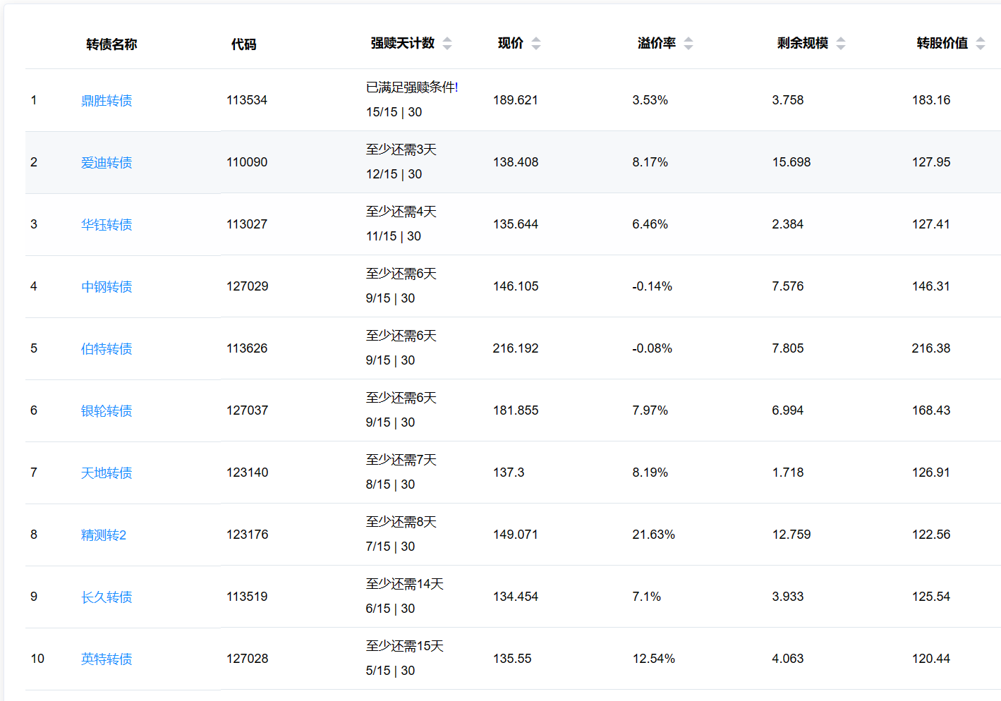
1、已公告强赎转债

2、即将满足强赎转债
下面这些转债,要注意强赎杀溢价风险,尤其是溢价率在5%以上的。

3、下修情况
太平转债,未来12个月不下修。
全文完。