Search K
Appearance
Appearance
文|启四
截至收盘,沪指跌0.43%,深成指跌0.60%,北证50跌0.57%,创业板指跌0.77%。沪深两市成交额6656亿元。两市超3500只个股下跌,北向资金净卖出62.69亿元。

可转债等权指数,今天涨幅-0.05%,中位数120.200元,位于二星级估值区,成交额386.90亿。
1、正元智慧,28.06减仓一半,27.6清仓。
2、姚记科技,27.1减仓1/6。
3、轮动策略,今日未调仓。今年累计收益率+19.19%。
中信建投券商研报指出,经济数据好,市场底信号强烈。
8月27日以来,房地产政策、活跃资本市场政策密集出台,政策底已经确认,从万得全A的走势来看,市场底逐步形成。历史上节后宽基指数平均收益在0.5%-2%,十月大盘强势概率较高,整体来看预计国庆长假后市场大概率完成筑底开启新一轮上行。

关于节后反转,优先选择哪只指数,目前启四比较看好沪深300ETF华夏(510330)。
从走势来看:
2021年初见顶至今,调整的时间足够长,并且最大跌幅也有-40%左右,具备反转条件。
短期来看由于美联储加息并没有结束,市场还有震荡的可能,但是中长期投资信心还是很足。

从估值回测来看:
市盈率、市净率都处于历史低位,股息率、风险溢价都处于历史高位,从四个指标来看,持有一年的胜率都在90%以上,且平均收益率在35%以上。
市盈率:从近10年来看,指数市盈率百分位当前处于历史较低位,仅有25.14%的时间比现在便宜,持有一年的胜率为96.19%,平均收益率在35.96%左右。
市净率:从近10年来看,指数市净率百分位当前处于历史很低位,仅有9.52%的时间比现在便宜,持有一年的胜率为100%,平均收益率在67.08%左右。
股息率:从近10年来看,指数股息率百分位当前处于历史较高位,有88.21%的时间比现在低,持有一年的胜率为92.9%,平均收益率在40.38%左右。
风险溢价:从近10年来看,指数FED百分位当前处于历史较高位,有79.54%的时间比现在低,持有一年的胜率为90.35%,平均收益率在36.89%左右。
(回测数据仅供参考,不代表未来)
沪深300成份股是由沪深市场最好的300只股票组成,以稳健为主,兼具盈利性、成长性和分红收益能力,同时,相对于市场平均水平,其估值优势也比较明显。
综上,我推荐沪深300ETF华夏(510330)。
宏昌转债、天康转债今天20%跌停,我在09-19的文章中提到过百洋转债20%跌停,并预测它们接下来有大幅下跌的可能,今天再度应验。

宏昌转债溢价率183%,天康转债溢价率103%,两只转债跌的还远远不够。
尤其是天康转债,到期时间:2023-12-22,基本可以确定会以108元到期赎回,目前价格202.933元,还有47%的下跌空间。
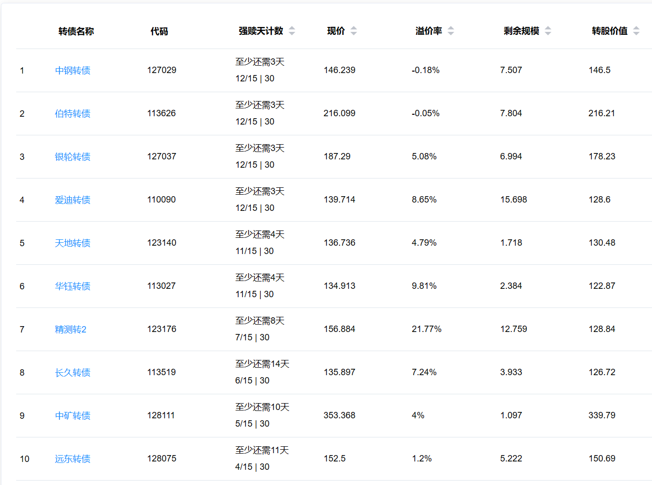
新型工业化,总书记就推进新型工业化作出重要指示强调,远东传动8天4板,远东转债近20日涨幅17.85%,今天再度大涨10.99%,近期上涨的原因主要是:
1)公司与沈阳机床共同打造传动轴行业高端智能制造的示范应用基地;
2)公司间接持股黄河信产12%股权,后者打造国产化通用计算鲲鹏系列和AI计算的昇腾系列服务器、微型计算机及软硬一体解决方案,具备年产36万台AI服务器和75万台PC的产能。
远东转债之前持有过,非常好的一只转债,它集新能源汽车+算力+机器人概念+军工概念+华为概念于一身,波动也很大,之前在140左右清仓后,打算125接回,可惜当时正值市场大跌,仓位太满,没能买到。
未来可以持续关注。
ChatGPT,OpenAI将推出ChatGPT的语音和图像功能;亚马逊40亿美元投资Anthropic。
转债相关概念有以下这些:
新致转债、科蓝转债、风雨转债比较活跃,值得关注。
岭南转债的缺点是临期了,剩余时间不足一年;胜达转债缺点是行业质地一般,市场不给溢价;孩王转债规模太大。

参考昨日文章:1天赚11天利息,别错过捡钱机会!
板块题材上,新型工业化、游戏、ChatGPT概念等涨幅居前;华为星闪、CRO概念下挫。
1、涨幅榜前十

2、跌幅榜前十

3、成交额榜前十

1、已公告强赎转债

2、即将满足强赎转债
下面这些转债,要注意强赎杀溢价风险,尤其是溢价率在5%以上的。

3、下修情况
科利转债,未来6个月不下修。
全文完。