Search K
Appearance
Appearance
文|启四
截至收盘,沪指跌0.44%,深成指跌0.03%,北证50跌0.09%,创业板指跌0.26%。沪深两市成交额7700亿元。两市超3400只个股下跌,北向资金净卖出74.6亿元。

可转债等权指数,今天涨幅-0.15%,中位数121.306元,位于二星级估值区,成交额336.01亿。
1、翔丰华,34.5买入,参与配债。
2、三羊马,37.25卖出一格,38.68卖出一格。
3、券商ETF,0.890买入一格。
4、轮动策略,今日未调仓。今年累计收益率+21.25%。
1、今天买入了翔丰华,参与配债。
翔丰转债,2023-10-10申购,如果参与了配债,明天记得操作和缴费。
翔丰华,300890,深市创业板,发行规模8亿,5%以上股东全额认购后转债上市流通规模6.36亿。
它的优点是百元含权较高,百元含权=发行规模*100/总市值,代表每百元股票含的可转债权利,含权越高,意味着配债成本越低。
当前预估上市后转债价格125元左右,以125元预测,安全垫5%左右,也就是说明天低开不超过5%,本次配债就大概率盈利。
此外,运机集团、翔丰华、豪鹏科技、东南网架等百元含权也较高,均在20元以上,可以关注。
百元含权较高的股票,距离申购日较远时不怎么抗跌,但是由于有较厚的安全垫,距离申购日较近时比较抗跌,在市场行情不好时往往能产生超额收益。
2、三羊马,再吃大肉
今年参与了15次配债,目前14次盈利,1次微亏。

三羊马已经是第三次吃肉了,可以说是做的非常舒服的一只。
它的质地一般,行业一般,配债安全垫也不高,但是有一个无法拒绝的优点——就是流通规模小。
正股和未来要发行转债的流通规模都很小,正股流通市值11.67亿,转债发行规模2.1亿,流通规模仅0.78亿。
不出意外的话,未来上市99%的概率是可以冲上160元甚至200元的,这样的话就有4%-6%的安全垫了。再加上其波动较大,在合适的位置入手做网格,在高位清仓,斩获利润相对还是较轻松的。
类似的配债股还有泰坦股份、运机集团、金现代、丽岛新材、雅创电子、金钟股份、山东章鼓、红墙股份、中富电路、松原股份、欧晶科技、集智股份、镇洋发展、合兴股份、远信工业等等。
3、赛特转债,2023-10-12上市,目前看是大肉,上市前一晚会发出具体预测分析。
板块题材上,华为汽车、减肥药、消费电子概念涨幅居前;旅游及酒店、传媒、房地产开发板块下挫。
1、涨幅榜前十

2、跌幅榜前十

3、成交额榜前十

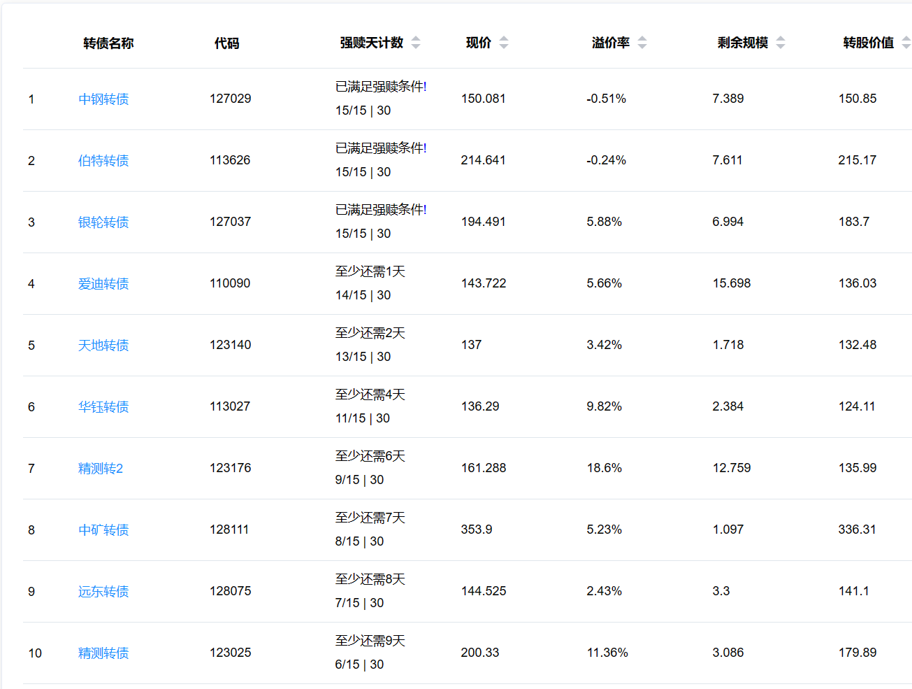
1、已公告强赎转债

2、即将满足强赎转债
下面这些转债,要注意强赎杀溢价风险,尤其是溢价率在5%以上的。

3、下修情况
旗滨转债,塞力转债,开润转债,未来3个月不下修。
家悦转债,弘亚转债,华体转债,未来6个月不下修。
全文完。