Search K
Appearance
Appearance
文|启四
截至收盘,沪指跌0.46%,深成指跌1.42%,北证50跌1.18%,创业板指跌2%,沪深两市成交额8129亿元。两市超3500只个股下跌,北向资金净卖出64.77亿元。

可转债等权指数,今天涨幅-0.76%,中位数120.081元,位于二星级估值区,成交额347.43亿。
1、轮动策略,卖出聚隆转债,买入联得转债。今年累计收益率+18.64%。
今晚华宝的账户里已经可以看到,之前套利的经纬纺机的可用资金了。

08-31到今天,共盈利+2.47%,期间上证-2.02%,深证-5.32%,创业板-7.58%,转债等权指数-2.64%,相比转债超额收益5%+。
由于是重仓,躲过下跌还能拿到稳定收益,还是非常香的。
逻辑回顾:重仓12.7%经纬纺机,详细分析
申报方法:https://t.zsxq.com/138JEtIZO
还没申报要抓紧时间了,时间截止10-19收盘。
今日深圳市林园投资管理有限责任公司发布公告称,基于对中国经济和资本市场的长期看好以及对旗下基金产品的充分信心,即日起我司或实控人林园先生本人将跟投我司旗下所有产品新增净申购额的20%。
著名游资大佬林园要增持自己的私募产品。
我查一下目前他公开持有的标的。
**正股:**奥特迅、金龙鱼、绿岛风、片仔癀、 葵花药业、皮阿诺、茶花股份、克明面业。
**转债:**德尔转债、宝莱转债、纵横转债、华体转债、正裕转债、翔港转债、瀛通转债、广汇转债、迪贝转债、威唐转债

盟升转债 118045(正股盟升电子 688311)
1)转债概况:发行规模3亿,行业:国防军工-军工电子Ⅱ-军工电子Ⅲ,转股价值99.11元。拟合曲线插值计算预测价格124.985元,转股期前可流通规模约1.75亿。
公司主营业务是卫星应用技术领域相关产品的研发及制造。质地一般。
2)对标转债:睿创转债
3)上市价预测:给予41%-43%的溢价,预估上市合理价值140-142元。流通规模很小,130元开盘,尾盘有望冲击157.3元。参考近期博俊转债、九点典转02表现,冲击200元比较困难。
4)操作建议:如果中签,首日打算落袋为安,可以考虑设置一个回落条件单,基准价140元,回落0.5%,买三价卖出。再加一个价格条件单,大于140元,即时买一价卖出(如果冲高能卖在高点)。
如果打算捂一捂,可以考虑从最高价跌10元卖出。
泰林转债,提议下修,无主动下修记录。目前参数见下图。

到期时间还比较久,本次下修目的大概率是为将来的强赎做准备,通常这种情况会下修到底。
当前正股PB大于1,下修不受限制,以正股现价和20日均价预估下修到底后转股价值为98-100元,给予30%的溢价率,预估合理价值127-130元,当前价格127.5元在合理范围内。
但是泰林转债剩余规模仅2.087亿极小,上市初曾被爆炒到最高480元,有这样的利好,游资大概率是不会放过的,明天应该会冲高一波。
风险:下修不到底,正股大幅下跌。
板块题材上,油气股、贵金属、港口航运等板块逆市大涨;光刻机、半导体及元件板块跌幅居前。
1、涨幅榜前十

2、跌幅榜前十

3、成交额榜前十

1、已公告强赎转债

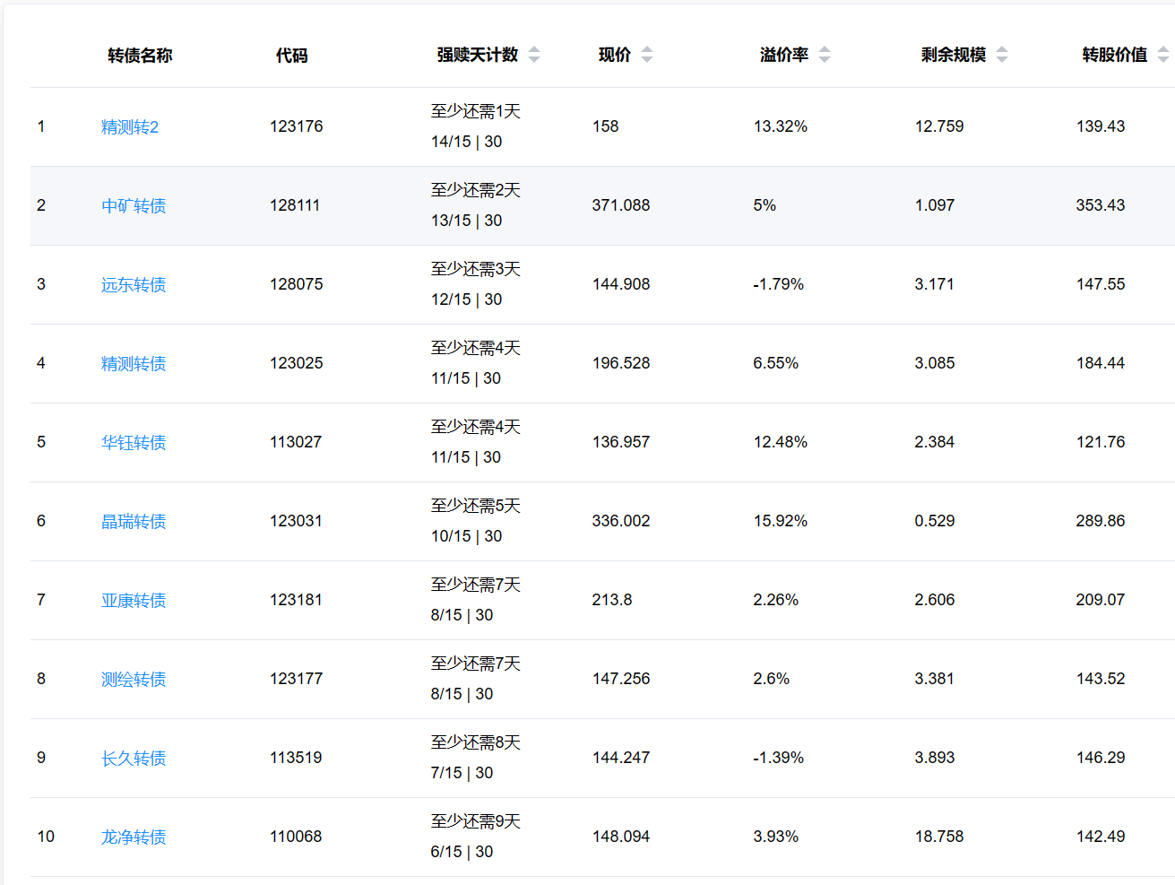
2、即将满足强赎转债
下面这些转债,要注意强赎杀溢价风险,尤其是溢价率在5%以上的。

3、下修情况
中宠转2,红相转债,本次不下修。
道恩转债,未来3个月不下修。
广汇转债,伟22转债,恒逸转债,未来6个月不下修。
全文完。