Search K
Appearance
Appearance
文|启四
截至收盘,沪指涨0.78%,深成指涨0.61%,北证50涨0.98%,创业板指涨0.85%,沪深两市成交额8041亿元。两市超4600只个股上涨。北向资金全天净卖出50.46亿元。

可转债等权指数,今天涨幅1.49%,中位数116.806元,位于二星级估值区,成交额415.47亿。
1、三羊马,35.4减仓,35.91卖出一网。
2、春秋转债,125.719减仓1/4。
3、丽岛新材,12.3减仓1/5。
5、轮动策略,卖出锋龙转债,买入聚隆转债。今年累计收益率+17.48%。
大回血的一天,物极必反,跌久必涨,这是亘古不变的铁律。
市场在底部磨久了,当股票跌到买入后比债券更赚钱时,反转迟早要来。
因为资本是逐利的,哪里赚钱机会更大自然就会去哪里。
这种行为不以人的意志为转移,也是投资市场短期不可预测但长期可预测的根本原因。
今天沪深300,股债收益差6.34%,历史百分位97.8%,依然位于钻石坑。
虽然今天账户回血了很多,但是也没有舍得大幅减仓,只减仓了涨幅较大的两只配债股和脉冲的春秋转债。
昨晚的文章中,我梳理了一些便宜货,今天涨幅都不错,尤其是配债股,涨幅都在3%以上,还有两只涨幅8%的。
有些朋友提到自己资金较少,加不了那么多标的,有没有比较适合的ETF?
梳理后,我觉得**中证1000ETF(159845)+沪深300ETF华夏(510330)**当前不错。
因为宽基指数能吃到大盘的平均收益,不用选股或者选基金经理,更适合大部分投资者。
首先,大家都知道,中央汇金公司10-23晚间公告,买入交易型开放式指数基金(ETF) 并将在未来六个月继续增持。
虽然中央汇金的公告并没有说具体买了哪几只 ETF,但是根据各大指数的走势,可以分析出汇金主要是买了这几个指数:
✅ 上证 50
✅ 沪深 300
✅ 中证 500
也就是说,市场最优秀的股票们,中央汇金基本挨个加仓了一遍。
我查了一下,截止到2023-06-30,中央汇金已经是这几只基金的最大持有人或者第二大持有人。



如果不知道加仓哪些的话,当前行情下,跟着中央汇金抄作业也非常不错。
1)从指数估值来看,各大指数当前股息率分位都在高点,其中中证1000ETF(159845)最高,
沪深300ETF华夏(510330)PE分位和PB分位都最低,
加仓的话,宽基中还是沪深300最具性价比。

2)从回测数据来看,沪深300,从近10年来看,指数市盈率百分位当前处于历史较低位,仅有16.39%的时间比现在便宜,持有一年的胜率为94.84%,平均收益率在36.01%左右。(回测数据仅供参考,不代表未来)
沪深300市场上有多只,其中**沪深300ETF华夏(510330)**跟踪误差0.42%最小,规模相对适中,波动更大一些,博反弹可以优先选择。
choice数据显示,10月份以来,资金净流入前7只ETF产品里有5只是中证1000ETF,分别是:华夏中证1000、易方达中证1000、南方中证1000、广发中证1000、富国中证1000。
**从流入资金额上看,**流入资金量最大的三只ETF分别是华夏中证1000、易方达中证1000、南方中证1000,流入金额均在11亿以上。

说明中证1000ETF更受抄底资金青睐。抄作业可以优先选择华夏中证1000ETF(159845)。
芯能转债,2023-10-26申购。如果要参与配债,最晚10-25收盘前需持有股票。
三羊转债,2023-10-26申购。如果要参与配债,最晚10-25收盘前需持有股票。
如果不打算参与配债的话,无脑申购即可。
分析一下配债性价比:
芯能转债,正股芯能科技,603105,沪市主板,发行规模8.8亿,5%以上股东全额认购后转债上市流通规模5.76亿。
行业:光伏发电,现在不受市场待见,股价下行周期,公司质地一般。
配10张需要569股,只配1手的话,沪市最低只需要300股,以120元预测上市价格的话,一手党安全垫5.59%。
多手党安全垫只有2.7%-3%,安全垫不高,我咱不打算参与配债。
三羊转债,正股三羊马,001317,深市主板,发行规模2.1亿,5%以上股东全额认购后转债上市流通规模0.78亿。
之前盈利过3波,目前正在第4波车上,如果明天大涨我可能继续减仓,留下少量股票参与配债。
百元含权和一手党配债安全垫可以参考下图:

**泰坦转债,**明日申购,发行规模2.96亿,5%以上股东全额认购后转债上市流通规模1.02亿左右,上市后预定大肉,无脑申购即可。
**大族转债,**2024-02-06到期前不下修。到期赎回价105元,当前价格103.777元,此时买入到期税后收益0.75%。
见微知著,现在临期债的处境越来越难了,一是由于公司有各种方式可以消化转债剩余规模,临期债的下修和强赎动力都不如以往;二是新债不断扩容,游资相比以往有更多的小规模新债可以选择,自然不愿意给套牢的散户们抬轿子。基于以上两点原因,大部分临期债现在都一蹶不振。
尽管很多临期债规模都很小,只有2-3亿,比如国祯转债、兄弟转债、迪龙转债、吉视转债、三力转债、岭南转债、湖广转债等等,但是一旦剩余年限不足1年,价格就不断向到期赎回价靠拢,这个规律以后逐渐会成为定律。
所以,今后投资一定要远离临期债,尽量选择到期时间1.5年以上的转债。
板块题材上,互联网电商、纺织制造、证券板块涨幅居前;两市仅汽车整车、银行板块飘绿。
1、涨幅榜前十

2、跌幅榜前十

3、成交额榜前十

1、已公告强赎转债

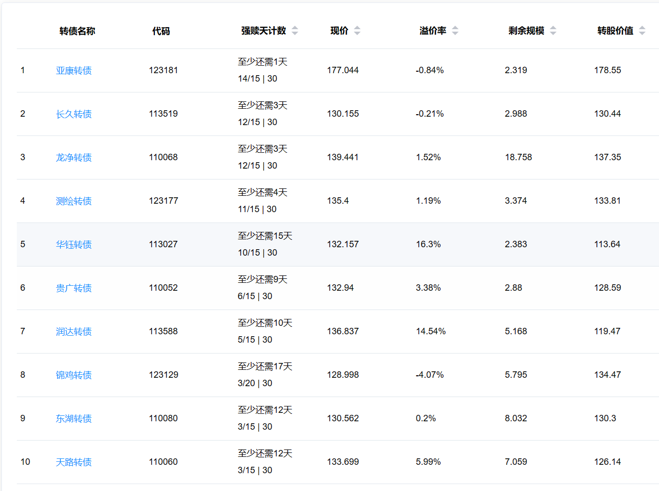
2、即将满足强赎转债
下面这些转债,要注意强赎杀溢价风险,尤其是溢价率在5%以上的。

3、下修情况
大族转债,2024-02-06到期前不下修。
拓斯转债,未来1个月不下修。
全文完。