Search K
Appearance
Appearance
文|启四
截至收盘,沪指涨0.4%,深成指涨0.47%,北证50涨1.52%,创业板指跌0.9%,沪深两市成交额8738亿元。两市超4000只个股上涨。北向资金全天净卖出12.96亿元。

可转债等权指数,今天涨幅0.80%,中位数117.521元,位于二星级估值区,成交额454.61亿。
中位数两天就涨了接近3元,回血很快。当前沪深300股债收益差:6.38%(百分位:98.27%),依然在钻石坑。
1、券商ETF,0.91卖出一网。
2、春秋转债,128减仓1/3。
3、锋龙转债,131.434减仓1/3。
4、泰坦股份,12.14买入。
5、轮动策略,卖出聚隆转债,买入锋龙转债。今年累计收益率+18.65%。
又是大回血的一天,不得不说汪峰真的神奇,请给我继续汪四离章(往死里涨)。
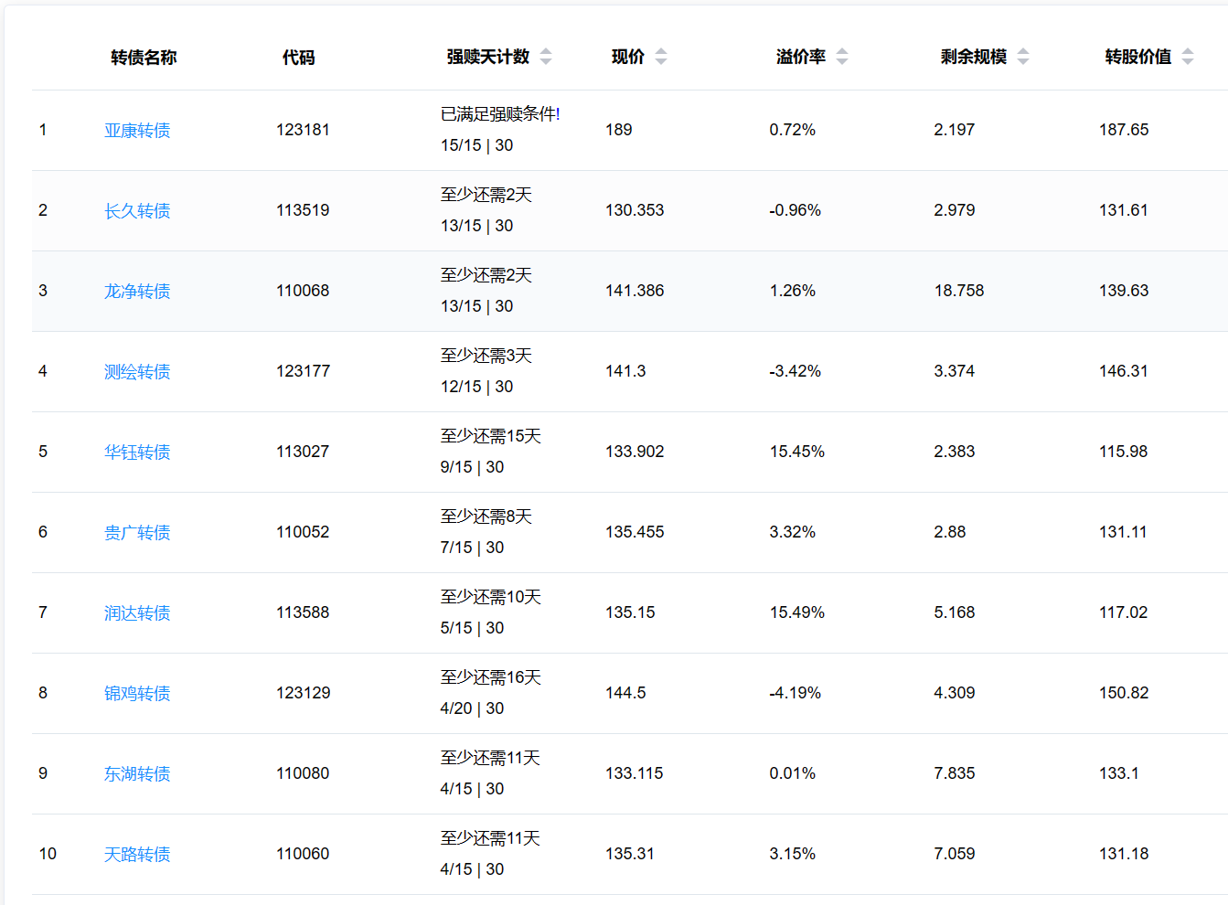
近期涨幅榜最靓的两个仔,一个是鸿达转债,一个是锦鸡转债。
鸿达转债之前说过它是价值不可预测的暴雷失眠债,经常莫名其妙的大涨大跌,我不碰。
锦鸡转债是一个搞纺织化学用品的,最近涨的这么凶却是因为算力租赁概念,怎么回事?
因为公司全资子公司英智创新拟在广东省深圳市南山区等地投资建设《AI创新赋能中心项目》。项目计划分期建设具有10000P算力的智算算力网,其中一期建设规模为2000P算力,二期建设规模为8000P算力,合计共建设具备10000P算力覆盖全国的算力网络。为推动 AI 项目的建设, 公司全资子公司英智创新与北京深湾科技有限公司签订设备采购合同,采购 H800 80GB HGX NVLINK 服务器, NF5688M7。
可以看出来其实当前炒的是算力预期,仅仅是采购阶段,炒作合同。
正股近5日涨幅40%+,转债近5日涨幅22%+,短期的游资炒作导致市场担心高位砸盘,转债出现负溢价-4.19%,盘中一度-6%+。我没有参与折价套利。
目前已上市的转债中以下这些有算力概念:

未上市的有中贝通信(2天2板)、高新发展(5天5板)。
翔丰转债 123225(正股翔丰华 300890)
1)转债概况:发行规模8亿,行业:电力设备-电池-电池化学品,转股价值104.43元。拟合曲线插值计算预测价格 126.437元,转股期前可流通规模约6.3亿。
公司主营业务是锂电池负极材料的研发、生产和销售。质地尚可,行业热度一般。
2)对标转债:宙邦转债
3)上市价预测:给予24%-26%的溢价,预估上市合理价值129.5-131.5元。可能130元开盘。
4)操作建议:如果中签,可以考虑设置一个回落条件单,基准价129.5元,回落0.5%,买三价卖出。再加一个时间条件单,14:57,自定义价格130元卖出(如果冲高能卖到高点)。
如果直接130元开盘,会停牌到14:57,深市转债最后三分钟是集合竞价,价格条件单和回落条件单没用。
注:9:25-14:57,手动最高可出价143元,14:57-15:00,手动最高可出价157.3元。
由于不同券商时间条件单触发机制不同,可能存在不会触发的可能,最保险的做法就是最后三分钟盯盘手动操作。
翔丰转债我参与了配债:第3次吃肉,买入了这只配债股!,根据安全垫计算,上市价格在120元以上即可确保盈利,目前看大概率是稳了,今年17次配债16次盈利。
按计划参与了三羊马的配债,发债规模2.1亿,上市流通规模预估0.78亿,冲上200元的希望还是很大的。
以160元预测上市价,安全垫4.3%左右,以188元预测上市价,安全垫6.5%左右。
如果行情不佳,转债未能达到价格预期,就通过网格做T降低配债成本。
利空消息,一般强赎后会出现股债双杀的情况。
好消息是:当前溢价率0.72%不高,转债剩余规模2.179亿也不大,正股算力概念近期活跃,明天压缩空间应该不大。
坏消息是:正股当前正股PE、PB分位都在高位,算力概念热度退却的话,正股下跌风险很大。
如果持有转债,建议尽早止损。
曾经参与过正股亚康股份的配债套利,盈利了121.27%。可惜没拿住,发债后股价又翻了一倍,转债上市后拿到200元以上就卖了,也没有再参与炒作。
2023-09-27刚进入转股期,这才一个月就公告强赎,着实可惜,又失去一只好债。
12.14元抄底了1%仓位的泰坦股份,泰坦股份未参与配债,但是套利党直接砸跌停这是我没想到的,直接砸下来一个大缺口。近期发行小盘债的红墙股份和山东章鼓也是类似的情况。可以看下图。
我个人比较看好这个缺口能在近几天补上,就小抄了一手。



板块题材上,算力租赁、水利、汽车整车等板块涨幅居前;美容护理、CRO概念、证券板块飘绿。
1、涨幅榜前十

2、跌幅榜前十

3、成交额榜前十

1、已公告强赎转债

2、即将满足强赎转债
下面这些转债,要注意强赎杀溢价风险,尤其是溢价率在5%以上的。

全文完。