Search K
Appearance
Appearance
文|启四
截至收盘,沪指跌0.09%,深成指跌0.65%,北证50跌0.97%,创业板指跌0.48%,沪深两市成交额9183亿元。两市超3000只个股下跌。北向资金全天净卖出47.53亿元。

可转债等权指数,今天涨幅-0.82%,中位数118.628元,位于二星级估值区,成交额407.90亿。
今天文章写的比较晚,趁着双11去清空购物车了,给父母买了2件羽绒服,自己反倒是没什么消费欲望,大家有没有什么好物推荐或者好书推荐?欢迎评论区交流。
丽岛新材,昨天发布了可转债募集说明书(注册稿),预计近期转债就会发行。
603937,沪市主板,发行规模3亿,5%以上股东全额认购后转债上市流通规模1.11亿。
正股行业:铝,质地一般。发债规模和流通规模都很小,上市后走妖可能性较大,上市价160元+应该没太大问题。目前配售1手转债正常需要股数697股,如果只配1手的话,由于沪市有精确算法,最低400股就可以配1手,求稳的话需要500股。
以160元上市价来预测的话,一手党需要资金5056元,对应配债安全垫11.87%左右,多手党安全垫6.8%左右。安全垫不错。
镇洋发展,证监会同意注册。
603213,沪市主板,发行规模6.6亿,5%以上股东全额认购后转债上市流通规模1.81亿。
正股行业:氯碱,质地不错。流通规模很小,上市后有望走妖,目前配售1手转债正常需要股数659股,如果只配1手的话,由于沪市有精确算法,最低400股就可以配1手。
以130元上市价来预测的话,一手党需要资金4476元,对应配债安全垫6.7%左右,多手党安全垫4%左右。安全垫尚可。
配债所需股数、百元含权和配债安全垫可以参考下图。

岭南转债,还有3个交易日将满足下修条件,当前价格110.624元,剩余规模6.567亿,剩余年限0.789年,到期赎回价107元。
这是一只曾经主动下修过两次的转债,而且正股很喜欢蹭概念控制股价,说明公司对解决转债问题还是很上心的。
根据三季报数据,公司账上货币资金6.389亿,有息负债率 57.57%,转债压力比较大,本次满足下修条件后有望公告提议下修。
不过临期债溢价被压缩的很厉害,参考同样下修的临期债博世转债,预估岭南转债公告下修后合理价值在111-113元。
今天跌幅榜被双高债霸榜,我每天早上都会在社群提示高风险转债,其中提示过的上声转债、大叶转债、宏昌转债、金农转债今日均跌幅巨大。

妖债能不能参与呢?我觉得可以,但是前提是把握好度,及时止盈。
比如新债我们可以持有到200以上卖出,赚市场的高溢价。历史上妖性十足的极小规模转债,跌到130元以下,可以考虑参与。
转债作为为数不多的下跌有底的投资品种,只要不频繁追高,其实绝对跌幅是有限的,剩下的就是仓位管理和心态管理。
盈亏同源,有些钱不赚,也就没有了被割的风险,有些坑不用自己踩,看看历史也能规避风险。
我相信很多同学在被普及了转债知识后,已经认识到了这类转债的危险,但还是有一些喜欢追涨杀跌的小白或者赌徒,每天不操作就手痒,喜欢赌双高。
这样的双高妖债,绝大部分流通筹码掌握在游资手中,游资赚钱了,那其他大部分人肯定是赔钱的, 你可以赚十几天,但一天就能让你连本带利吐出来。
双高债有几个台阶——150、170、200、300以上,这些价格以上,溢价率还在50%以上的就是双高债了,价格越往上风险越大,游资是需要获利的,不会无限拉涨,随时可能撤退获利,最后只留下追高的散户山顶站岗。
套上一年半载等散户绝望割肉了,再来拉升割一波韭菜。循环往复,无有穷尽。
查理·芒格曾说过:如果知道我会死在哪里,那我将永远不去那个地方。
真心劝我的读者们,远离双高债,赚能让自己睡得着觉的钱,别被击鼓传花的游戏所诱惑。
1、春秋转债,135清仓。
2、精装转债,113.155卖出一网。
3、芯海转债,118.8减仓1/10,116接回。
4、轮动策略,今日未调仓。今年累计收益率+19.59%。
板块题材上,辅助生殖、美容护理、互联网电商等板块涨幅居前;汽车整车、CPO、算力租赁等板块飘绿。
1、涨幅榜前十

2、跌幅榜前十

3、成交额榜前十

1、已公告强赎转债

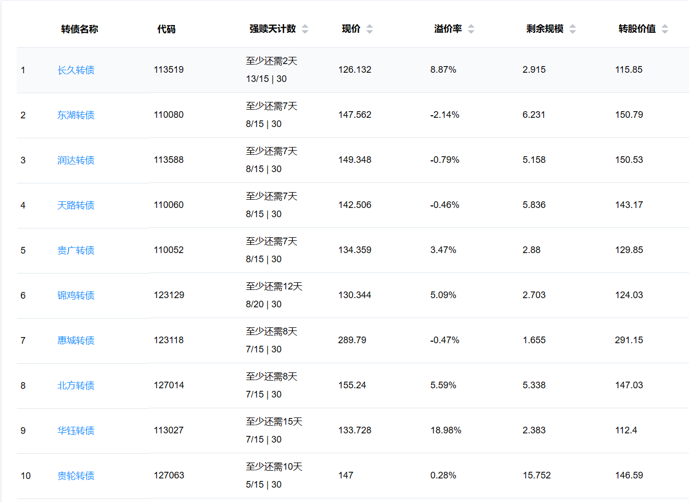
2、即将满足强赎转债
下面这些转债,要注意强赎杀溢价风险,尤其是溢价率在5%以上的。

3、下修情况
山石转债,本次不下修。
国微转债,尚荣转债,未来6个月不下修。
药石转债,未来2个月不下修。
全文完。