Search K
Appearance
Appearance
文|启四
昨晚提到希望转2有套利机会,我买了点,今天如愿上100元了,初级目标达成。
昨晚新希望发布公告称:预计触发希望转2转股价格向下修正条件,其实之前希望转2已经满足下修条件达30天,但是公司并未公告是否准备下修,按照新规,不公告下修视为不下修。
这次眼看触发了清偿条件,公司可能预料到会有大量投资者准备清偿,因此就先发了提示公告,截止今天满足下修条件计数11天,最早将于12月6日满足15天计数。
理想情况:公司于12月6日盘后公告提议下修,12月7日价格有望提升到103元左右,如果之后下修到底有望提升到110元左右。这种情况,在100、103、110任意阶段都可以止盈。
较差情况:公司于12月11日申报截止日前未公告下修,且价格依然位于100元以下,就像美锦转债。这种情况,通过申报要求清偿(繁琐、麻烦、时间久)或者止损平出都可以。
最差情况:公司近期暴雷,股价大幅下跌,转债价格大幅下跌,这就只能自认倒霉,认亏止损了。
金钟转债 123230(正股金钟股份 301133)
1)转债概况:发行规模3.5亿,行业:汽车-汽车零部件-车身附件及饰件,转股价值108.76元。拟合曲线插值计算预测价格127.822元,转股期前可流通规模约0.95亿。
公司主营业务是汽车内外饰件设计、开发、生产和销售。质地一般。
2)对标转债:神通转债
3)上市价预测:给予36%-38%的溢价,预估上市合理价值148-150元。流通规模很小,130元开盘,尾盘极大概率冲击157.3元,有冲击200元潜力。
4)操作建议:如果中签,建议捂一捂,首日不要贱卖,未来几天可以考虑从最高价跌10元卖出。
11-28买入的锦鸡转债,今天吃肉清仓了,凭借它今天逆市收红,11月份轮动策略共取得8.01%收益率。

锦鸡转债主业是搞纺织化学用品的,但是最近却因为算力租赁概念涨的很凶,今天已经新高了。
因为公司全资子公司英智创新拟在广东省深圳市南山区等地投资建设《AI创新赋能中心项目》。项目计划分期建设具有10000P算力的智算算力网,其中一期建设规模为2000P算力,二期建设规模为8000P算力,合计共建设具备10000P算力覆盖全国的算力网络。为推动 AI 项目的建设, 公司全资子公司英智创新与北京深湾科技有限公司签订了设备采购合同。
最近一段时间一直炒的是算力预期,仅仅是采购阶段,炒作合同。未来可能会反复波动活跃。
目前已上市的转债中以下这些有算力概念:

未上市的配债股高新发展也有此概念。
岩土转债,修正后转股价格:人民币2.64元/股,下修到底了。下修后转股价值98.48元,虽然价格只有109元左右,到期赎回价108元,但岩土转债的缺点是剩余年限仅0.29年,时间期权价值所剩无几。预估合理价值109-111元。
这也是一只典型的鸡肋债,拿着跌不到哪去,但也很难大涨。
看个有意思的,上海银行高管薪酬:

1、姚记科技,23.58加仓。
2、轮动策略,卖出锦鸡转债,买入斯莱转债。今年累计收益率+29.18%。
截至收盘,沪指涨0.26%,深成指跌0.18%,北证50跌1.72%,创业板指涨0.24%,沪深两市成交额7735亿元。两市超3500只个股下跌。北向资金净买入77.7亿元。

可转债等权指数,今天涨幅-0.28%,中位数118.778元,位于二星级估值区,成交额564.06亿。
板块题材上,旅游、酒店、燃气、流感等板块涨幅居前;光刻胶、汽车零部件等板块飘绿。
1、涨幅榜前十

2、跌幅榜前十

3、成交额榜前十

1、已公告强赎转债

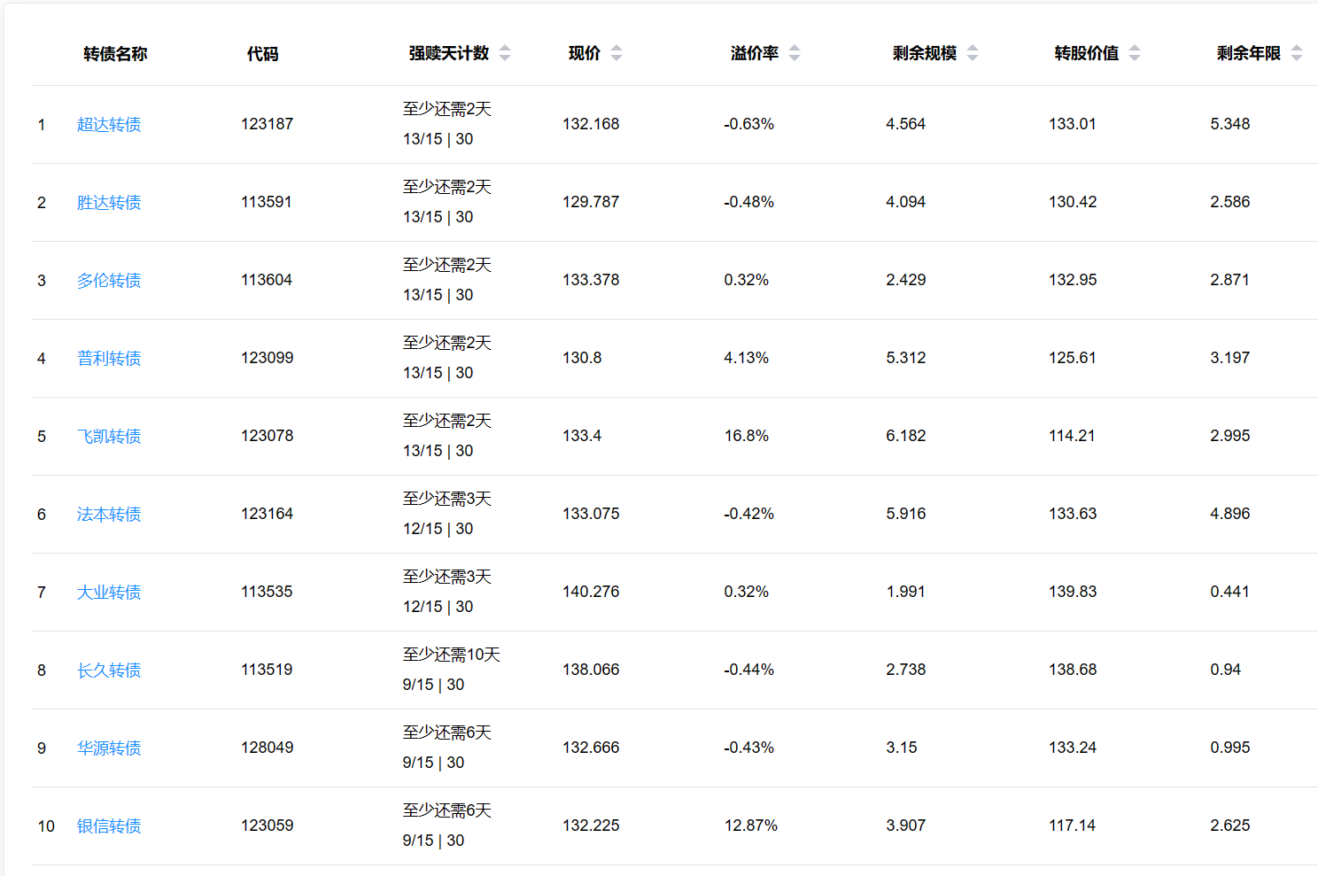
2、即将满足强赎转债
下面这些转债,要注意强赎杀溢价风险,尤其是溢价率在5%以上的。

3、下修情况
美锦转债,本次不下修。
超声转债,未来6个月不下修。
全文完。